专利数据库
统计分析
产业报告
专利数据监控
产业人才
行业动态
产业政策法规
维权援助
个人中心
详情
文本
图像
标题
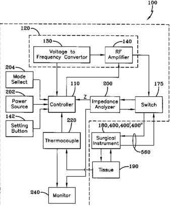
Variable-frequency stimulator for electrosurgery
授权日
2018-10-09
公开(公告)号
US10092349
申请日
2012-05-04
公开(公告)日
2018-10-09
当前申请(专利权)人
THE UNIVERSITY OF AKRON | SUMMA HEALTH
发明人
ENGEBERG, ERIK | ESPINAL, ERIC
简单同族
US10092349 | US20140074084A1 | WO2012151493A2 | WO2012151493A3
简单同族成员数量
4
简单同族被引用专利总数
26
诉讼案件数
0
法律状态/事件
授权 | 权利转移
抱歉,您的浏览器不支持PDF预览,请点击链接下载PDF文件