专利数据库
统计分析
产业报告
专利数据监控
产业人才
行业动态
产业政策法规
维权援助
个人中心
详情
文本
图像
标题
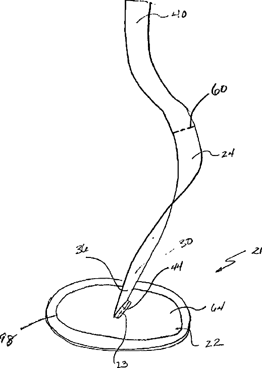
Implantable prosthesis
授权日
1900-01-01
公开(公告)号
US20040087980A1
申请日
2002-08-02
公开(公告)日
2004-05-06
当前申请(专利权)人
DAVOL, INC.
发明人
FORD, STEVEN PALMER | TORRES, DONNA SCHULZ
简单同族
AT543458T | CA2494111A1 | CA2494111C | CA2728809A1 | CA2728809C | DK1524951T3 | DK2298232T3 | DK2298233T3 | DK2298234T3 | EP1524951A1 | EP1524951B1 | EP2298232A2 | EP2298232A3 | EP2298232B1 | EP2298233A2 | EP2298233A3 | EP2298233B1 | EP2298234A2 | EP2298234A3 | EP2298234B1 | EP3135245A1 | EP3135245B1 | ES2381354T3 | ES2609422T3 | ES2616343T3 | ES2666232T3 | JP2005534404A | JP2005534404A5 | JP2010042269A | JP2010046499A | JP2012096050A | JP4425136B2 | JP5049326B2 | PT2298232T | PT2298233T | PT2298234T | US20040087980A1 | US20060282105A1 | US20090198260A1 | US20100286716A1 | US7101381 | US7785334 | US7806905 | US8956373 | WO2004012627A1
简单同族成员数量
45
简单同族被引用专利总数
382
诉讼案件数
0
法律状态/事件
授权 | 权利转移
抱歉,您的浏览器不支持PDF预览,请点击链接下载PDF文件