专利数据库
统计分析
产业报告
专利数据监控
产业人才
行业动态
产业政策法规
维权援助
个人中心
详情
文本
图像
标题
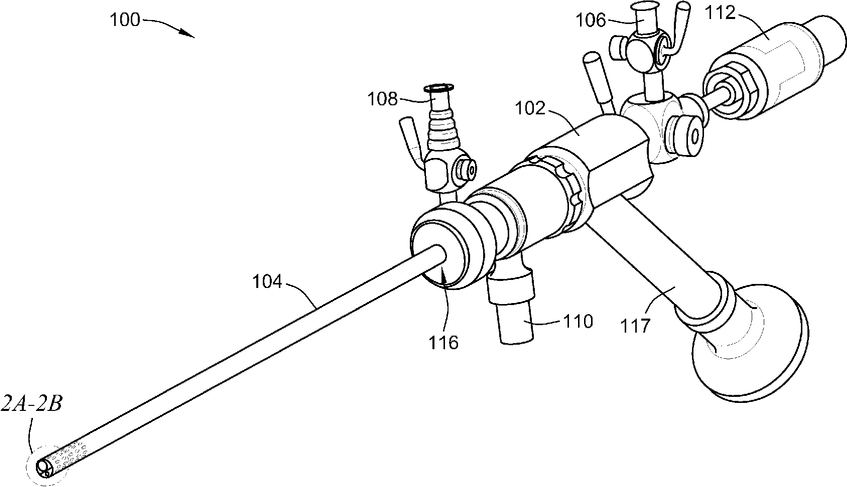
Hysteroscopic system
授权日
1900-01-01
公开(公告)号
US20150374221A1
申请日
2015-09-04
公开(公告)日
2015-12-31
当前申请(专利权)人
COVIDIEN LP
发明人
SAHNEY, MIRA | SHENER-IRMAKOGLU, CEMAL
简单同族
AU2011308834A1 | AU2011308834B2 | BR112013007307A2 | CN103327882A | CN103327882B | CN106551672A | CN106551672B | EP2621327A1 | EP2621327B1 | EP2621327B8 | JP2013541998A | JP5909784B2 | KR101879467B1 | KR1020160089900A | MX2013003535A | MX344597B | RU2013119298A | RU2601943C2 | US10251539 | US20120078038A1 | US20150374221A1 | US20190216310A1 | US9155454 | WO2012044705A1 | ZA201302037B
简单同族成员数量
25
简单同族被引用专利总数
26
诉讼案件数
0
法律状态/事件
授权 | 权利转移
抱歉,您的浏览器不支持PDF预览,请点击链接下载PDF文件