专利数据库
统计分析
产业报告
专利数据监控
产业人才
行业动态
产业政策法规
维权援助
个人中心
详情
文本
图像
标题
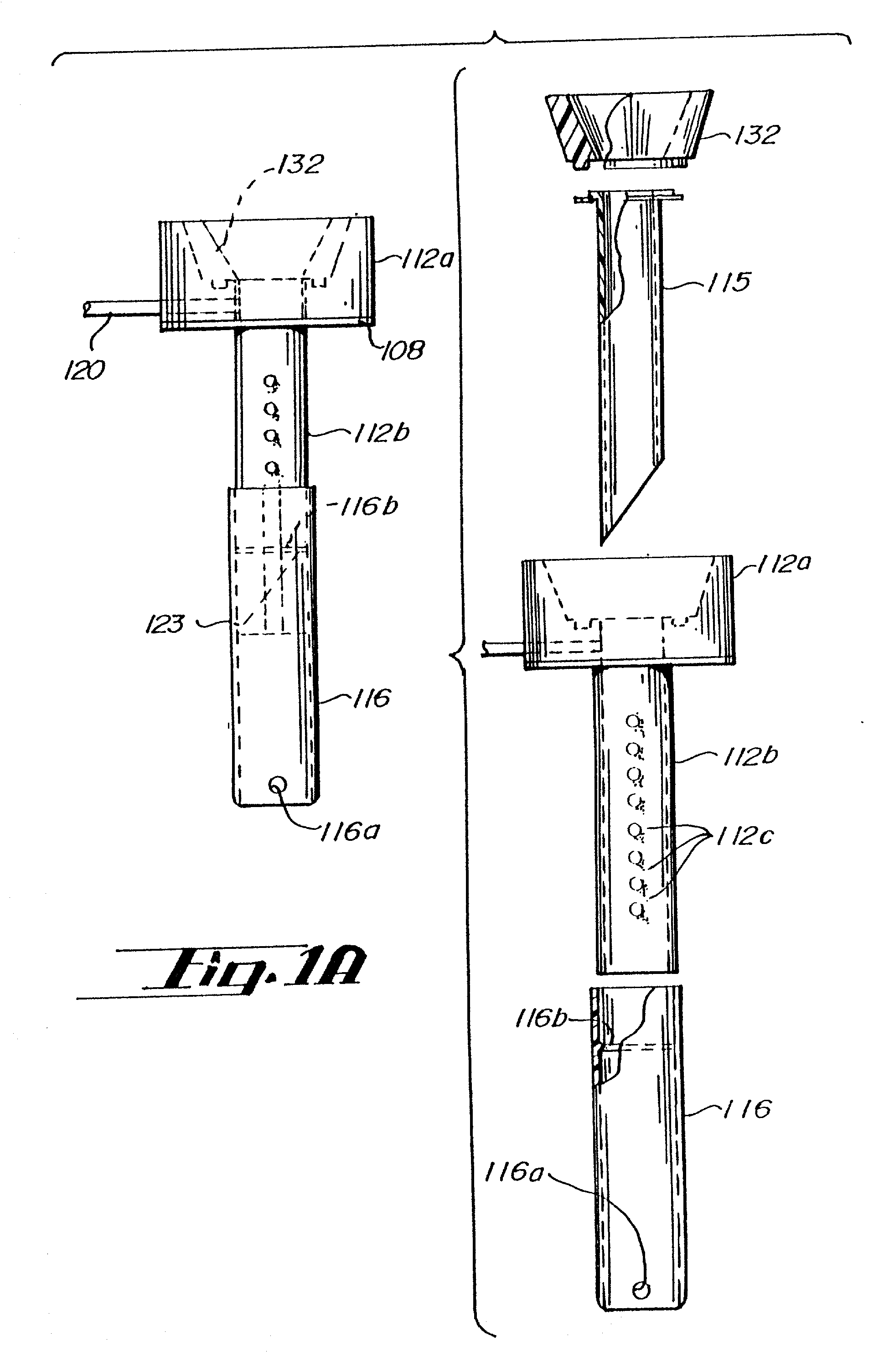
Laparoscopic tool and method
授权日
1900-01-01
公开(公告)号
US20010029353A1
申请日
2001-03-01
公开(公告)日
2001-10-11
当前申请(专利权)人
PHILLIPS PLASTICS, INC.
发明人
PETERSON, FRANCIS C.
简单同族
US20010029353A1 | US6197002 | WO2000045720A1
简单同族成员数量
3
简单同族被引用专利总数
318
诉讼案件数
0
法律状态/事件
撤回
抱歉,您的浏览器不支持PDF预览,请点击链接下载PDF文件