专利数据库
统计分析
产业报告
专利数据监控
产业人才
行业动态
产业政策法规
维权援助
个人中心
详情
文本
图像
标题
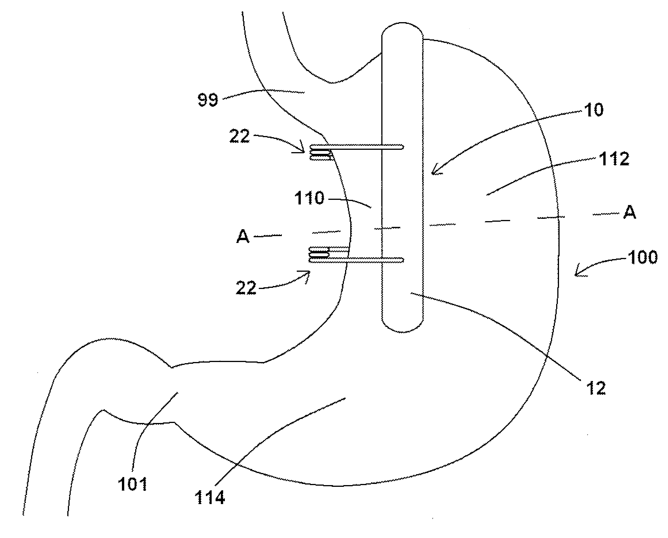
Devices, systems and methods for tissue restoration
授权日
1900-01-01
公开(公告)号
US20110046641A1
申请日
2009-08-24
公开(公告)日
2011-02-24
当前申请(专利权)人
CVDEVICES, LLC
发明人
KASSAB, GHASSAN S. | NAVIA, SR., JOSE A.
简单同族
US20110046641A1 | US20170027730A1 | US9402757
简单同族成员数量
3
简单同族被引用专利总数
27
诉讼案件数
0
法律状态/事件
授权 | 权利转移
抱歉,您的浏览器不支持PDF预览,请点击链接下载PDF文件