专利数据库
统计分析
产业报告
专利数据监控
产业人才
行业动态
产业政策法规
维权援助
个人中心
详情
文本
图像
标题
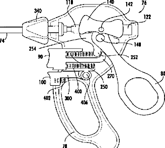
Surgical instrument
授权日
2003-01-14
公开(公告)号
US6506208
申请日
2001-10-09
公开(公告)日
2003-01-14
当前申请(专利权)人
AESCULAP AG
发明人
HUNT, ROBERT B. | MELSKY, GERALD S. | EVANS, STEPHEN C. | WHIPPLE, GARY | WISDOM, RICHARD
简单同族
AT519436T | AU2002322309A1 | EP1450698A2 | EP1450698A4 | EP1450698B1 | ES2369530T3 | US20020072766A1 | US6506208 | WO2003030708A2 | WO2003030708A3
简单同族成员数量
10
简单同族被引用专利总数
263
诉讼案件数
0
法律状态/事件
期限届满 | 权利转移
抱歉,您的浏览器不支持PDF预览,请点击链接下载PDF文件