专利数据库
统计分析
产业报告
专利数据监控
产业人才
行业动态
产业政策法规
维权援助
个人中心
详情
文本
图像
标题
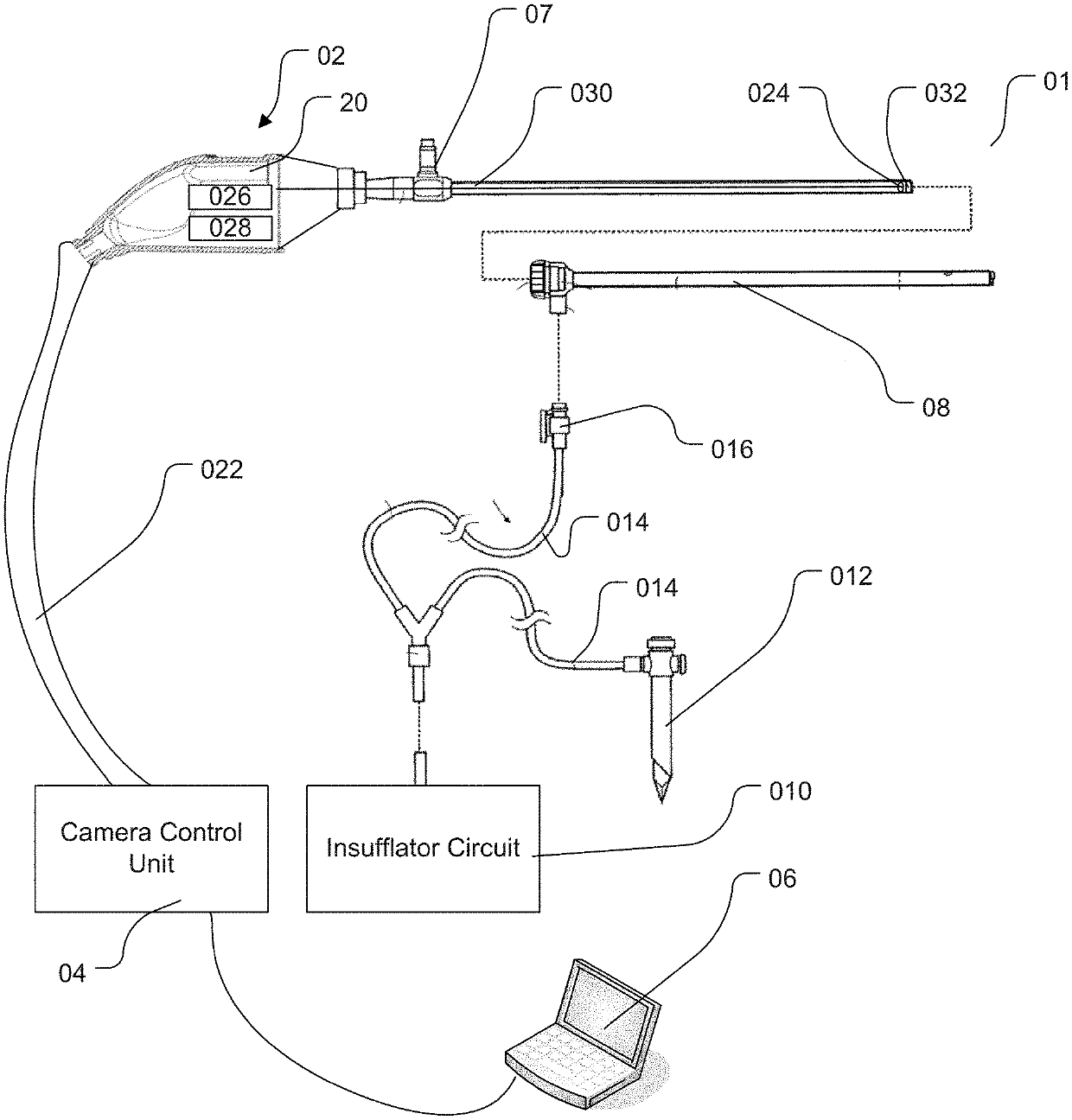
Imaging sensor providing improved visualization for surgical scopes
授权日
1900-01-01
公开(公告)号
US20200113429A1
申请日
2019-12-09
公开(公告)日
2020-04-16
当前申请(专利权)人
DEPUY SYNTHES PRODUCTS, INC.
发明人
TALBERT, JOSHUA D. | HENLEY, JEREMIAH D. | WICHERN, DONALD M.
简单同族
US10499804 | US20130060086A1 | US20200113429A1 | WO2012116339A1
简单同族成员数量
4
简单同族被引用专利总数
66
诉讼案件数
0
法律状态/事件
公开
抱歉,您的浏览器不支持PDF预览,请点击链接下载PDF文件