专利数据库
统计分析
产业报告
专利数据监控
产业人才
行业动态
产业政策法规
维权援助
个人中心
详情
文本
图像
标题
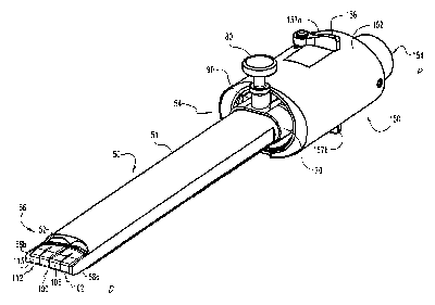
Methods and instruments for laparoscopic spinal surgery
授权日
2007-02-20
公开(公告)号
US7179263
申请日
2002-12-04
公开(公告)日
2007-02-20
当前申请(专利权)人
SDGI HOLDINGS, INC.
发明人
ZDEBLICK, THOMAS | MCGAHAN, THOMAS V. | DERIDDER, STEVEN D.
简单同族
AT306215T | AU2001240091A1 | AU2001240091B2 | CA2401345A1 | DE60113969D1 | DE60113969T2 | EP1263334A2 | EP1263334B1 | ES2250364T3 | JP2003526441A | US20030083666A1 | US6514260 | US7179263 | WO2001067971A2 | WO2001067971A3 | WO2001067971A8
简单同族成员数量
16
简单同族被引用专利总数
168
诉讼案件数
0
法律状态/事件
未缴年费
抱歉,您的浏览器不支持PDF预览,请点击链接下载PDF文件