专利数据库
统计分析
产业报告
专利数据监控
产业人才
行业动态
产业政策法规
维权援助
个人中心
详情
文本
图像
标题
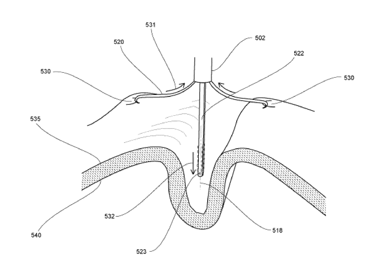
Methods and devices for reducing gastric volume
授权日
2013-06-25
公开(公告)号
US8469972
申请日
2012-03-06
公开(公告)日
2013-06-25
当前申请(专利权)人
LONGEVITY SURGICAL, INC.
发明人
HARRIS, PETER S. | RABIN, BARRY HAL
简单同族
EP2129301A2 | EP2129301A4 | US20080249566A1 | US20110009887A1 | US20110066167A1 | US20120160893A1 | US20120165845A1 | US20130338680A1 | US8057490 | US8100921 | US8142450 | US8414600 | US8469972 | US8920437 | WO2008112942A2 | WO2008112942A3
简单同族成员数量
16
简单同族被引用专利总数
165
诉讼案件数
0
法律状态/事件
授权 | 权利转移
抱歉,您的浏览器不支持PDF预览,请点击链接下载PDF文件