专利数据库
统计分析
产业报告
专利数据监控
产业人才
行业动态
产业政策法规
维权援助
个人中心
详情
文本
图像
标题
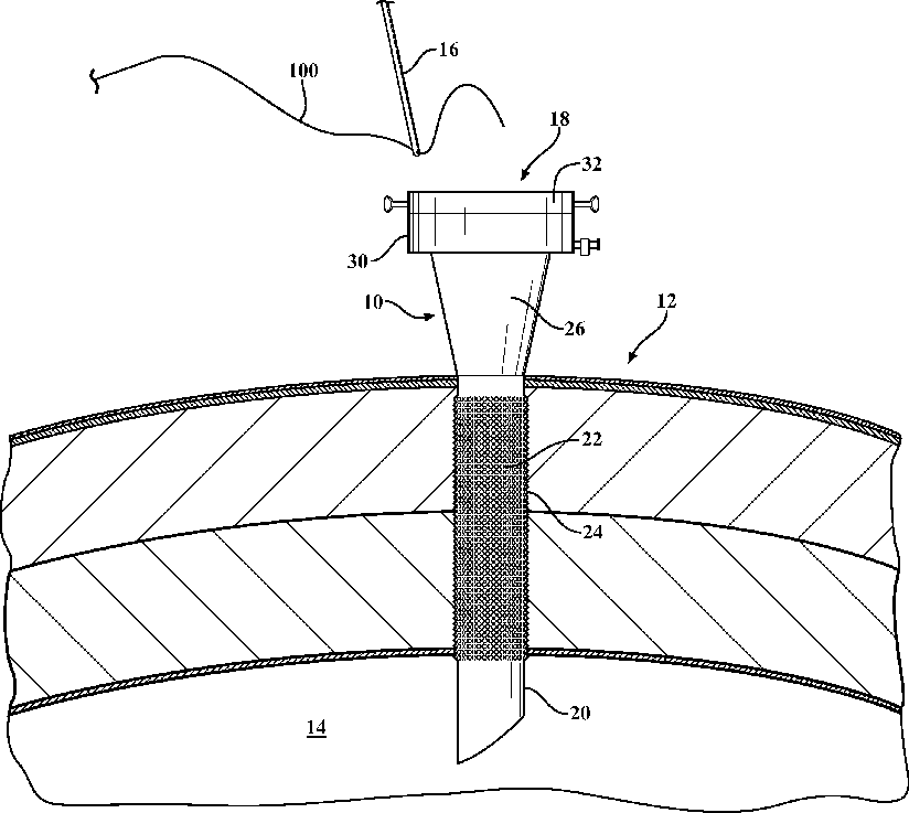
Laparoscopic cannula with suturing passage cutoff
授权日
1900-01-01
公开(公告)号
US20150238184A1
申请日
2015-05-13
公开(公告)日
2015-08-27
当前申请(专利权)人
MOHAJER-SHOJAEE, REZA
发明人
MOHAJER-SHOJAEE, REZA
简单同族
US20140163323A1 | US20150238184A1 | US9033872 | US9636104 | WO2013105993A2 | WO2013105993A3
简单同族成员数量
6
简单同族被引用专利总数
58
诉讼案件数
0
法律状态/事件
授权
抱歉,您的浏览器不支持PDF预览,请点击链接下载PDF文件