专利数据库
统计分析
产业报告
专利数据监控
产业人才
行业动态
产业政策法规
维权援助
个人中心
详情
文本
图像
标题
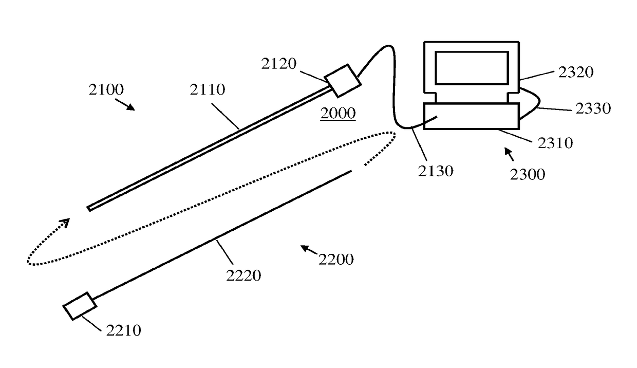
Laparoscope system
授权日
2018-12-04
公开(公告)号
US10143356
申请日
2016-03-14
公开(公告)日
2018-12-04
当前申请(专利权)人
EON SURGICAL LTD.
发明人
FARIN, DANNY | BACHAR, YEHUDA
简单同族
AU2012230331A1 | AU2012230331B2 | AU2016213748A1 | AU2016213748B2 | CA2830957A1 | CA2830957C | CA2980332A1 | CA2980332C | CN103561633A | CN103561633B | CN105455769A | CN105455769B | EP2688457A2 | EP2688457B1 | EP3117760A2 | EP3117760A3 | HK1189788A | HK1189788A1 | JP2014509905A | JP5893124B2 | KR101541988B1 | KR1020130137223A | US10143356 | US20140066711A1 | US20160192825A1 | US20190099065A1 | US9282879 | WO2012126967A2 | WO2012126967A3
简单同族成员数量
29
简单同族被引用专利总数
39
诉讼案件数
0
法律状态/事件
授权 | 权利转移
抱歉,您的浏览器不支持PDF预览,请点击链接下载PDF文件