专利数据库
统计分析
产业报告
专利数据监控
产业人才
行业动态
产业政策法规
维权援助
个人中心
详情
文本
图像
标题
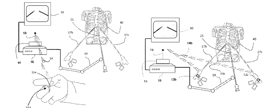
Device having a wearable interface for improving laparoscopic surgery and methods for use thereof
授权日
2018-04-17
公开(公告)号
US9943372
申请日
2013-01-08
公开(公告)日
2018-04-17
当前申请(专利权)人
TRANSENTERIX EUROPE, S.A.R.L.
发明人
SHOLEV, MORDEHAI | ATAROT, GAL | FRIMER, MOTTI
简单同族
US10456202 | US10603110 | US20130123804A1 | US20160184031A1 | US20170049521A1 | US20170119480A9 | US20170281275A9 | US9943372
简单同族成员数量
8
简单同族被引用专利总数
28
诉讼案件数
0
法律状态/事件
授权 | 权利转移
抱歉,您的浏览器不支持PDF预览,请点击链接下载PDF文件