专利数据库
统计分析
产业报告
专利数据监控
产业人才
行业动态
产业政策法规
维权援助
个人中心
详情
文本
图像
标题
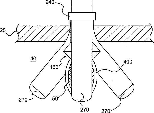
Laparoscopic specimen retrieval shoehorn
授权日
1900-01-01
公开(公告)号
US20030216773A1
申请日
2003-05-08
公开(公告)日
2003-11-20
当前申请(专利权)人
SHIMM PETER
发明人
SHIMM, PETER
简单同族
US20030216773A1 | US6805699
简单同族成员数量
2
简单同族被引用专利总数
62
诉讼案件数
0
法律状态/事件
未缴年费
抱歉,您的浏览器不支持PDF预览,请点击链接下载PDF文件