专利数据库
统计分析
产业报告
专利数据监控
产业人才
行业动态
产业政策法规
维权援助
个人中心
详情
文本
图像
标题
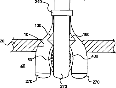
Laparoscopic specimen extraction port
授权日
2005-05-03
公开(公告)号
US6887255
申请日
2002-04-19
公开(公告)日
2005-05-03
当前申请(专利权)人
SHIMM PETER
发明人
SHIMM, PETER
简单同族
US20030199915A1 | US6887255
简单同族成员数量
2
简单同族被引用专利总数
139
诉讼案件数
0
法律状态/事件
未缴年费
抱歉,您的浏览器不支持PDF预览,请点击链接下载PDF文件