专利数据库
统计分析
产业报告
专利数据监控
产业人才
行业动态
产业政策法规
维权援助
个人中心
详情
文本
图像
标题
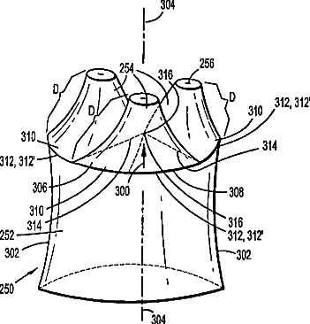
Laparoscopic instrument and trocar system and related surgical method
授权日
2014-06-10
公开(公告)号
US8747302
申请日
2013-04-15
公开(公告)日
2014-06-10
当前申请(专利权)人
COVIDIEN LP | PNAVEL SYSTEMS LLC
发明人
PISKUN, GREGORY
简单同族
US20100324375A1 | US20120022334A1 | US20130289576A1 | US20140236164A1 | US20150223836A1 | US7850600 | US8439831 | US8747302 | US9039611
简单同族成员数量
9
简单同族被引用专利总数
154
诉讼案件数
0
法律状态/事件
授权 | 权利转移
抱歉,您的浏览器不支持PDF预览,请点击链接下载PDF文件