专利数据库
统计分析
产业报告
专利数据监控
产业人才
行业动态
产业政策法规
维权援助
个人中心
详情
文本
图像
标题
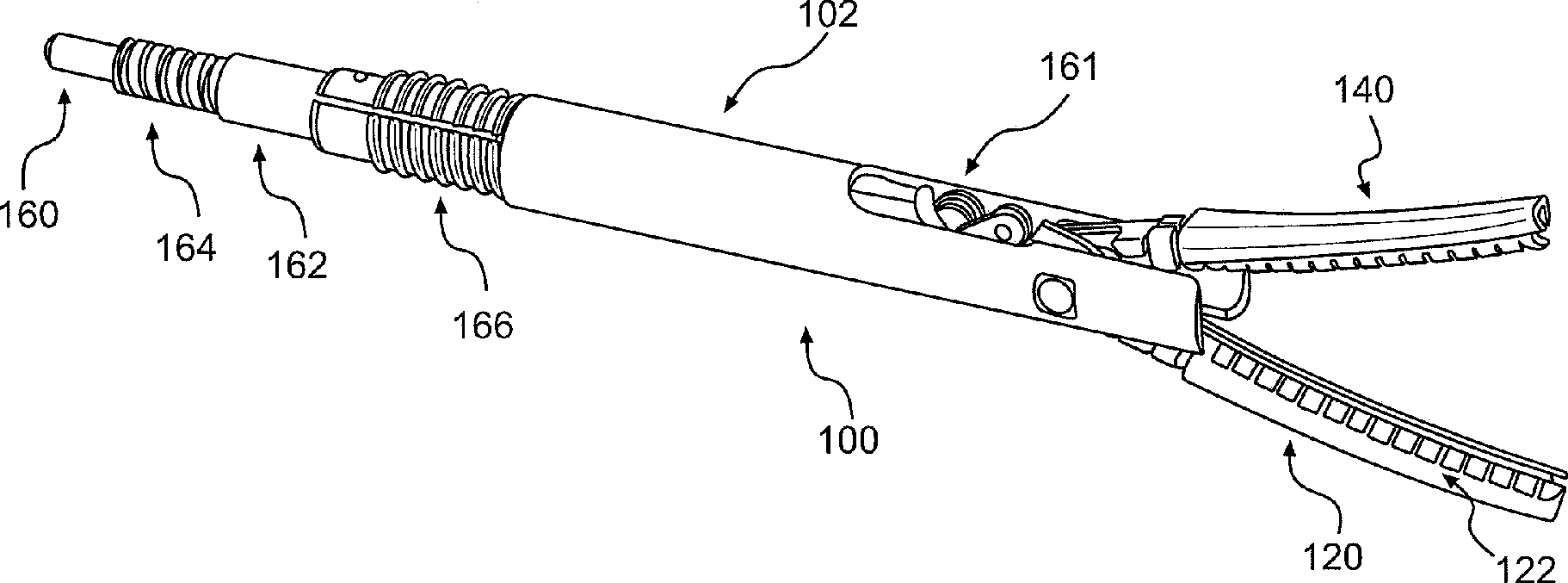
Laparoscopic medical device with de-mateable tip
授权日
1900-01-01
公开(公告)号
US20120083778A1
申请日
2011-09-30
公开(公告)日
2012-04-05
当前申请(专利权)人
MICROLINE SURGICAL, INC.
发明人
MCGAFFIGAN, THOMAS HAYNES | JOSHI, SHARAD H.
简单同族
CA2754275A1 | CA2754275C | EP2436329A1 | EP2436329B1 | EP2835108A1 | EP2835108B1 | ES2526294T3 | JP2012075893A | JP2013226439A | JP5449288B2 | JP5703344B2 | US20120083778A1 | US9814515
简单同族成员数量
13
简单同族被引用专利总数
25
诉讼案件数
0
法律状态/事件
授权 | 权利转移
抱歉,您的浏览器不支持PDF预览,请点击链接下载PDF文件