专利数据库
统计分析
产业报告
专利数据监控
产业人才
行业动态
产业政策法规
维权援助
个人中心
详情
文本
图像
标题
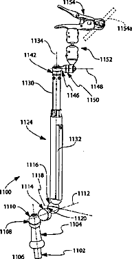
System and method for positioning a laparoscopic device
授权日
2012-07-10
公开(公告)号
US8216125
申请日
2008-10-24
公开(公告)日
2012-07-10
当前申请(专利权)人
CIVCO MEDICAL INSTRUMENTS CO., INC.
发明人
WILSON, ROGER F. | WHITMORE, III, WILLET F.
简单同族
US20090247819A1 | US8216125
简单同族成员数量
2
简单同族被引用专利总数
43
诉讼案件数
0
法律状态/事件
授权 | 权利转移
抱歉,您的浏览器不支持PDF预览,请点击链接下载PDF文件