专利数据库
统计分析
产业报告
专利数据监控
产业人才
行业动态
产业政策法规
维权援助
个人中心
详情
文本
图像
标题
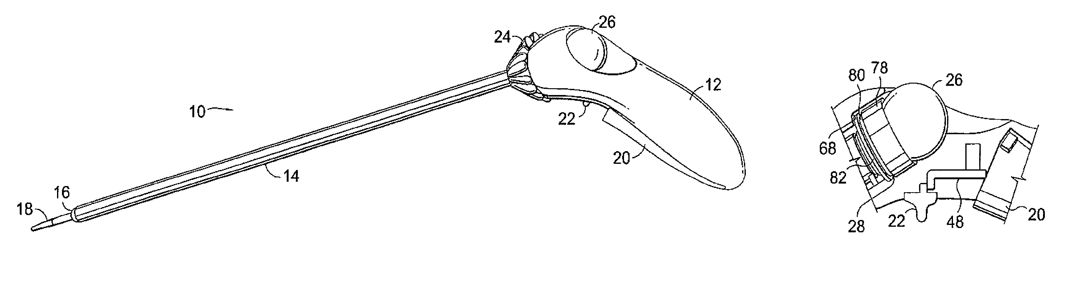
Ergonomic handle and articulating laparoscopic tool
授权日
2013-11-19
公开(公告)号
US8585734
申请日
2009-08-24
公开(公告)日
2013-11-19
当前申请(专利权)人
BOARD OF REGENTS OF THE UNIVERSITY OF NEBRASKA
发明人
HALLBECK, M SUSAN | OLEYNIKOV, DMITRY | DONE, KATHRYN | JUDKINS, TIM | DIMARTINO, ALLISON | MORSE, JONATHAN | VERNER, LAWTON N
简单同族
CN101296660A | EP1715796A2 | JP2007526805A | US20050187575A1 | US20090312605A1 | US20140066978A1 | US8585734 | WO2005079333A2 | WO2005079333A3
简单同族成员数量
9
简单同族被引用专利总数
72
诉讼案件数
0
法律状态/事件
授权 | 权利转移
抱歉,您的浏览器不支持PDF预览,请点击链接下载PDF文件