专利数据库
统计分析
产业报告
专利数据监控
产业人才
行业动态
产业政策法规
维权援助
个人中心
详情
文本
图像
标题
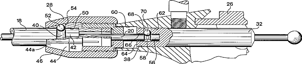
Laparoscopic instrument with a detachable tip
授权日
2003-07-22
公开(公告)号
US6595984
申请日
2000-03-28
公开(公告)日
2003-07-22
当前申请(专利权)人
MICROLINE SURGICAL, INC.
发明人
DEGUILLEBON, HENRI F.
简单同族
US6595984
简单同族成员数量
1
简单同族被引用专利总数
65
诉讼案件数
0
法律状态/事件
期限届满 | 权利转移
抱歉,您的浏览器不支持PDF预览,请点击链接下载PDF文件