专利数据库
统计分析
产业报告
专利数据监控
产业人才
行业动态
产业政策法规
维权援助
个人中心
详情
文本
图像
标题
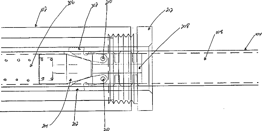
Clutch for stabilizing and adjusting a probe in laparoscopic surgery
授权日
2004-10-19
公开(公告)号
US6805664
申请日
2002-07-31
公开(公告)日
2004-10-19
当前申请(专利权)人
CAREFUSION 2200, INC
发明人
DOYLE, MARK | CAPUTO, JIMMY
简单同族
US20040024383A1 | US6805664
简单同族成员数量
2
简单同族被引用专利总数
21
诉讼案件数
0
法律状态/事件
授权 | 权利转移
抱歉,您的浏览器不支持PDF预览,请点击链接下载PDF文件