专利数据库
统计分析
产业报告
专利数据监控
产业人才
行业动态
产业政策法规
维权援助
个人中心
详情
文本
图像
标题
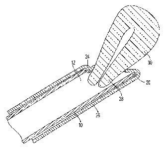
Transvaginal tube as an aid to laparoscopic surgery
授权日
2011-12-27
公开(公告)号
US8082925
申请日
2006-12-29
公开(公告)日
2011-12-27
当前申请(专利权)人
GYNETECH PTY LTD.
发明人
MCCARTNEY, ANTHONY J.
简单同族
US20050261714A1 | US20070112356A1 | US6572631 | US8082925
简单同族成员数量
4
简单同族被引用专利总数
64
诉讼案件数
0
法律状态/事件
未缴年费
抱歉,您的浏览器不支持PDF预览,请点击链接下载PDF文件