专利数据库
统计分析
产业报告
专利数据监控
产业人才
行业动态
产业政策法规
维权援助
个人中心
详情
文本
图像
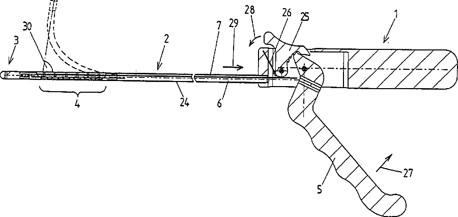
标题
Laparoscopic instrument
授权日
1900-01-01
公开(公告)号
US20050222601A1
申请日
2005-04-05
公开(公告)日
2005-10-06
当前申请(专利权)人
AMI AGENCY FOR MEDICAL INNOVATIONS GMBH
发明人
ERHARD, MARTIN
简单同族
AT413940B | ATA6022004A | EP1584293A1 | US20050222601A1
简单同族成员数量
4
简单同族被引用专利总数
44
诉讼案件数
0
法律状态/事件
撤回 | 权利转移
抱歉,您的浏览器不支持PDF预览,请点击链接下载PDF文件