专利数据库
统计分析
产业报告
专利数据监控
产业人才
行业动态
产业政策法规
维权援助
个人中心
详情
文本
图像
标题
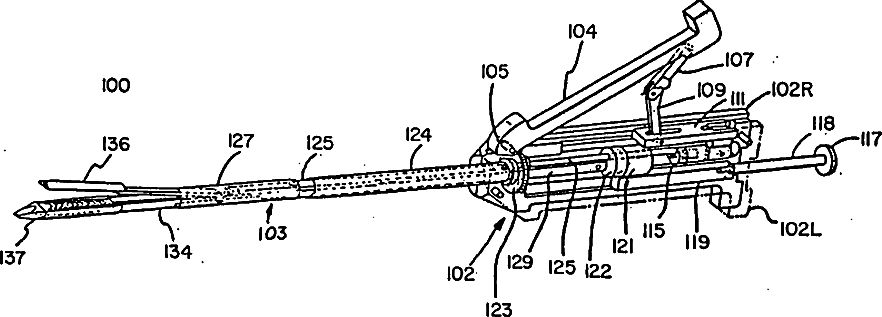
Apparatus for laparoscopic or endoscopic procedures
授权日
1900-01-01
公开(公告)号
US20070084899A1
申请日
2006-10-13
公开(公告)日
2007-04-19
当前申请(专利权)人
COVIDIEN LP
发明人
TAYLOR, ERIC J.
简单同族
AU2006228045A1 | AU2006228045B2 | CA2563890A1 | CA2563890C | DE602006011993D1 | EP1774915A1 | EP1774915B1 | ES2339042T3 | JP2007105482A | JP4840864B2 | US20070084899A1 | US8286847
简单同族成员数量
12
简单同族被引用专利总数
163
诉讼案件数
0
法律状态/事件
授权 | 权利转移
抱歉,您的浏览器不支持PDF预览,请点击链接下载PDF文件