专利数据库
统计分析
产业报告
专利数据监控
产业人才
行业动态
产业政策法规
维权援助
个人中心
详情
文本
图像
标题
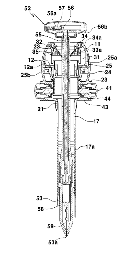
Trocar for Laparoscopic Surgery
授权日
1900-01-01
公开(公告)号
US20100268164A1
申请日
2009-03-31
公开(公告)日
2010-10-21
当前申请(专利权)人
CHUNG HYUN-KOOK
发明人
CHUNG, HYUN-KOOK
简单同族
KR101004763B1 | KR1020100028421A | US20100268164A1 | US8029474 | WO2010027135A1
简单同族成员数量
5
简单同族被引用专利总数
25
诉讼案件数
0
法律状态/事件
授权
抱歉,您的浏览器不支持PDF预览,请点击链接下载PDF文件