专利数据库
统计分析
产业报告
专利数据监控
产业人才
行业动态
产业政策法规
维权援助
个人中心
详情
文本
图像
标题
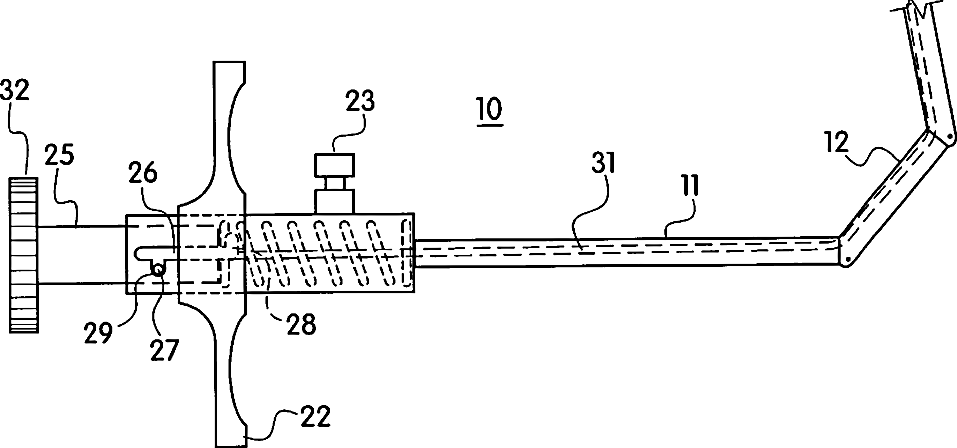
Laparoscopic retractor
授权日
2001-06-19
公开(公告)号
US6248062
申请日
2000-11-09
公开(公告)日
2001-06-19
当前申请(专利权)人
FLEXBAR MACHINECORP.
发明人
ADLER, JONATHAN | ASCHER, BERND | CORACI, JR., LEONARD
简单同族
US6248062
简单同族成员数量
1
简单同族被引用专利总数
88
诉讼案件数
0
法律状态/事件
授权 | 权利转移
抱歉,您的浏览器不支持PDF预览,请点击链接下载PDF文件