专利数据库
统计分析
产业报告
专利数据监控
产业人才
行业动态
产业政策法规
维权援助
个人中心
详情
文本
图像
标题
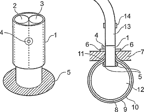
Laparoscopic surgery
授权日
2014-09-02
公开(公告)号
US8821377
申请日
2012-09-07
公开(公告)日
2014-09-02
当前申请(专利权)人
COLLINS, JUSTIN
发明人
COLLINS, JUSTIN
简单同族
US20130253267A1 | US8821377
简单同族成员数量
2
简单同族被引用专利总数
42
诉讼案件数
0
法律状态/事件
授权
抱歉,您的浏览器不支持PDF预览,请点击链接下载PDF文件