专利数据库
统计分析
产业报告
专利数据监控
产业人才
行业动态
产业政策法规
维权援助
个人中心
详情
文本
图像
标题
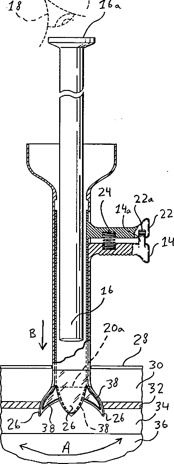
Laparoscopic direct vision dissecting port
授权日
1900-01-01
公开(公告)号
US20040082969A1
申请日
2002-10-23
公开(公告)日
2004-04-29
当前申请(专利权)人
INTELLIMED SURGICAL SOLUTIONS LLC (HI)
发明人
KERR, STEPHEN
简单同族
US20040082969A1 | US20060079925A1 | US7056329 | US7604648
简单同族成员数量
4
简单同族被引用专利总数
261
诉讼案件数
0
法律状态/事件
未缴年费 | 权利转移
抱歉,您的浏览器不支持PDF预览,请点击链接下载PDF文件