专利数据库
统计分析
产业报告
专利数据监控
产业人才
行业动态
产业政策法规
维权援助
个人中心
详情
文本
图像
标题
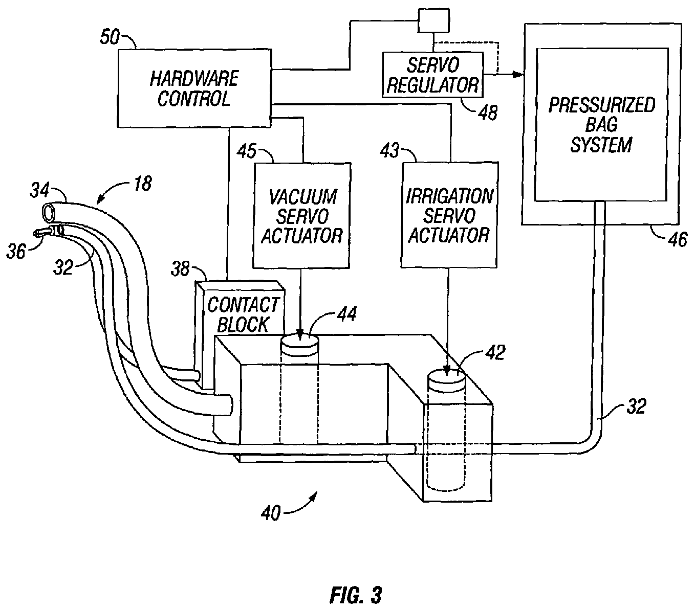
Laparoscopic apparatus for performing electrosurgical procedures
授权日
1900-01-01
公开(公告)号
EP1795139A1
申请日
2006-12-12
公开(公告)日
2007-06-13
当前申请(专利权)人
COVIDIEN AG
发明人
SARTOR, JOE D.
简单同族
AU2006252010A1 | AU2006252010B2 | CA2570678A1 | EP1795139A1 | EP1795139B1 | JP2007160109A | JP2012090999A | JP5175047B2 | US20070135812A1 | US20110202056A1 | US7947039 | US8241278
简单同族成员数量
12
简单同族被引用专利总数
130
诉讼案件数
0
法律状态/事件
权利终止 | 权利转移
抱歉,您的浏览器不支持PDF预览,请点击链接下载PDF文件