专利数据库
统计分析
产业报告
专利数据监控
产业人才
行业动态
产业政策法规
维权援助
个人中心
详情
文本
图像
标题
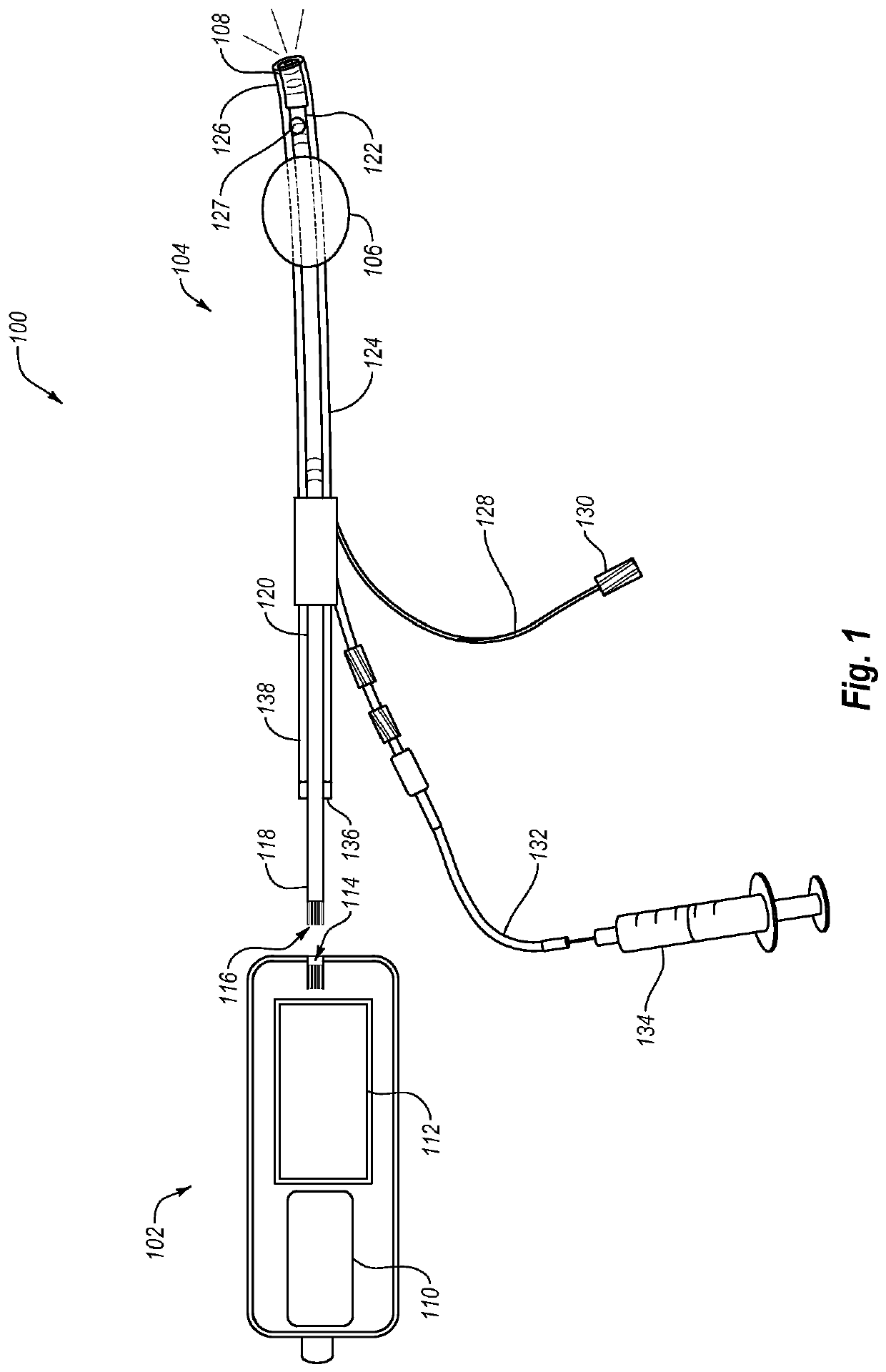
Apparatus for hysteroscopy and endometrial biopsy
授权日
2019-11-27
公开(公告)号
EP2632318B1
申请日
2011-09-16
公开(公告)日
2019-11-27
当前申请(专利权)人
ENDOSEE CORPORATION
发明人
OUYANG, XIAOLONG | INDMAN, PAUL, D. | DECKMAN, ROBERT, K. | WANG, SHIH-PING
简单同族
EP2632318A2 | EP2632318A4 | EP2632318B1 | WO2012060932A2 | WO2012060932A3
简单同族成员数量
5
简单同族被引用专利总数
23
诉讼案件数
0
法律状态/事件
授权
抱歉,您的浏览器不支持PDF预览,请点击链接下载PDF文件