专利数据库
统计分析
产业报告
专利数据监控
产业人才
行业动态
产业政策法规
维权援助
个人中心
详情
文本
图像
标题
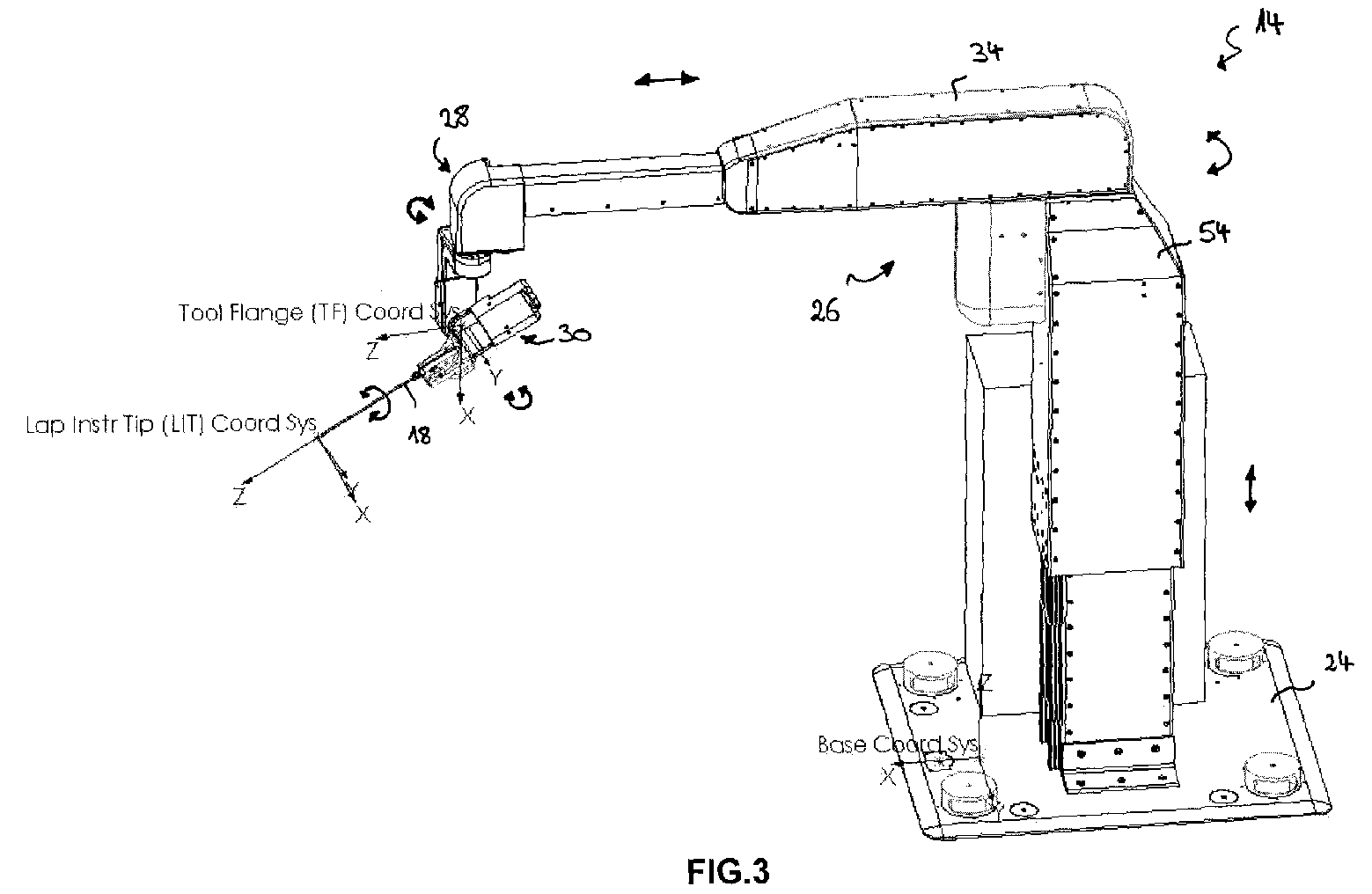
Medical robotic system with manipulator arm of the cylindrical coordinate type
授权日
1900-01-01
公开(公告)号
EP1815949A1
申请日
2006-02-03
公开(公告)日
2007-08-08
当前申请(专利权)人
THE EUROPEAN ATOMIC ENERGY COMMUNITY (EURATOM), REPRESENTED BY THE EUROPEAN COMMISSION
发明人
RUIZ MORALES, EMILIO
简单同族
BRPI0707438A2 | BRPI0707438B1 | BRPI0707438B8 | CA2635135A1 | CA2635135C | CN101421080A | CN101421080B | CY1120704T1 | DK1984150T3 | EP1815949A1 | EP1984150A2 | EP1984150B1 | ES2689093T3 | JP2009525097A | JP5148512B2 | KR101306215B1 | KR1020080100211A | MX2008010057A | MX307415B | PL1984150T3 | PT1984150T | RU2008135240A | RU2412799C2 | US20100204713A1 | US9358682 | WO2007088206A2 | WO2007088206A3
简单同族成员数量
27
简单同族被引用专利总数
344
诉讼案件数
0
法律状态/事件
撤回
抱歉,您的浏览器不支持PDF预览,请点击链接下载PDF文件