专利数据库
统计分析
产业报告
专利数据监控
产业人才
行业动态
产业政策法规
维权援助
个人中心
详情
文本
图像
标题
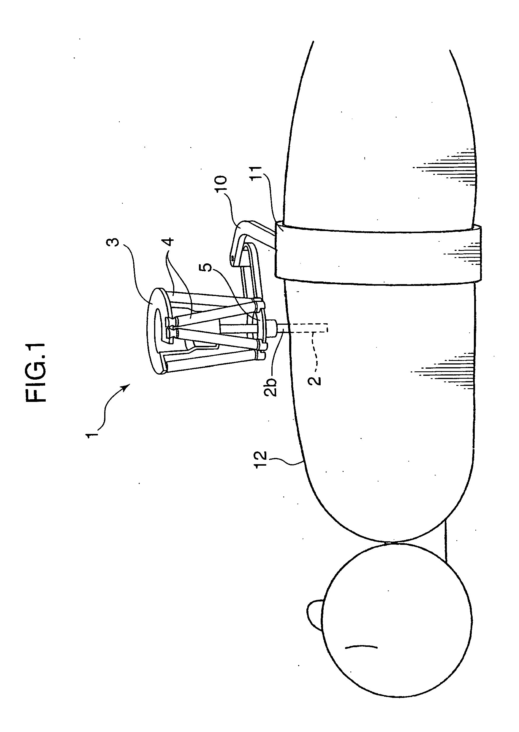
Medical manipulator device and actuator suitable for the same
授权日
2011-11-09
公开(公告)号
EP2133036B1
申请日
2008-03-28
公开(公告)日
2011-11-09
当前申请(专利权)人
OSAKA UNIVERSITY | DAIKEN IKI KABUSHIKI KAISHA
发明人
NISHIKAWA, ATSUSHI | MIYAZAKI, FUMIO | SEKIMOTO, MITSUGU | TANIGUCHI, KAZUHIRO | KAZUHARA, KOHEI | KOBAYASHI, TAKEHARU | ICHIHARA, TAKAHARU | KURASHITA, NAOTO
简单同族
AT532476T | EP2133036A1 | EP2133036A4 | EP2133036B1 | JP5529531B2 | JPWO2008120753A1 | US20100137680A1 | US8465414 | WO2008120753A1
简单同族成员数量
9
简单同族被引用专利总数
24
诉讼案件数
0
法律状态/事件
授权
抱歉,您的浏览器不支持PDF预览,请点击链接下载PDF文件