专利数据库
统计分析
产业报告
专利数据监控
产业人才
行业动态
产业政策法规
维权援助
个人中心
详情
文本
图像
标题
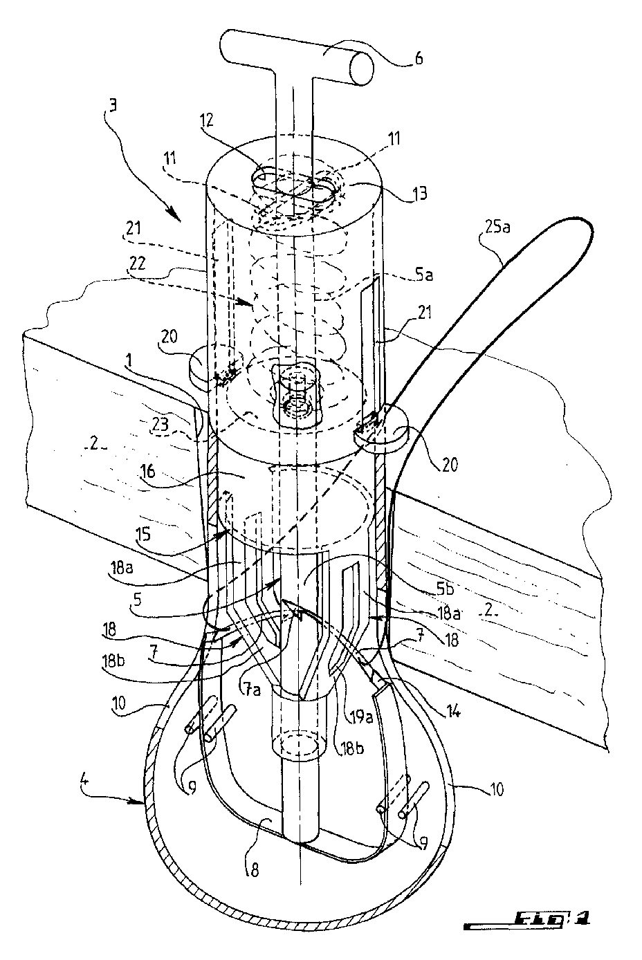
Subcutaneous suturing device for closing abdominal wall port of a patient
授权日
1900-01-01
公开(公告)号
EP1254635A1
申请日
2002-05-03
公开(公告)日
2002-11-06
当前申请(专利权)人
NAVARRO, FRANCIS | DOMERGUE, JACQUES
发明人
NAVARRO, FRANCIS | DOMERGUE, JACQUES
简单同族
AT389356T | BRPI0201605A2 | CA2386005A1 | DE60225619D1 | DE60225619T2 | DK1254635T3 | EP1254635A1 | EP1254635B1 | ES2303847T3 | FR2824253A1 | FR2824253B1 | JP2002336264A | PT1254635E | US20030028201A1 | US6939357
简单同族成员数量
15
简单同族被引用专利总数
118
诉讼案件数
0
法律状态/事件
授权
抱歉,您的浏览器不支持PDF预览,请点击链接下载PDF文件