专利数据库
统计分析
产业报告
专利数据监控
产业人才
行业动态
产业政策法规
维权援助
个人中心
详情
文本
图像
标题
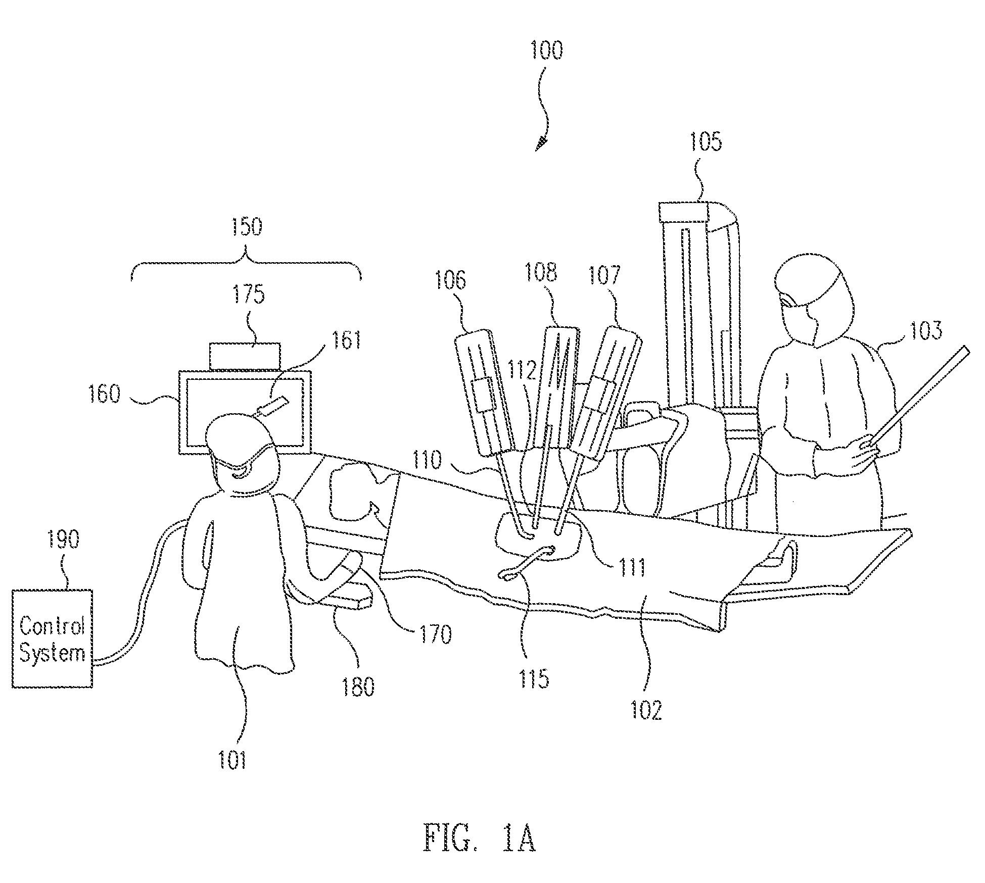
Patient-side surgeon interface for a minimally invasive, teleoperated surgical instrument
授权日
2016-04-27
公开(公告)号
EP2467082B1
申请日
2010-11-11
公开(公告)日
2016-04-27
当前申请(专利权)人
INTUITIVE SURGICAL OPERATIONS, INC.
发明人
ITKOWITZ, BRANDON, D.
简单同族
BR112012011324A2 | BR112012011324B1 | CN102665589A | CN102665589B | EP2467082A2 | EP2467082B1 | EP3092968A2 | EP3092968A3 | EP3092968B1 | EP3574860A1 | JP2013510671A | JP2015128681A | JP2017119168A | JP5757955B2 | JP6158246B2 | JP6373440B2 | KR101772958B1 | KR101825712B1 | KR1020120115484A | KR1020170100677A | US20110118748A1 | US20140018960A1 | US8521331 | US8831782 | WO2011060139A2 | WO2011060139A3
简单同族成员数量
26
简单同族被引用专利总数
391
诉讼案件数
0
法律状态/事件
授权
抱歉,您的浏览器不支持PDF预览,请点击链接下载PDF文件