专利数据库
统计分析
产业报告
专利数据监控
产业人才
行业动态
产业政策法规
维权援助
个人中心
详情
文本
图像
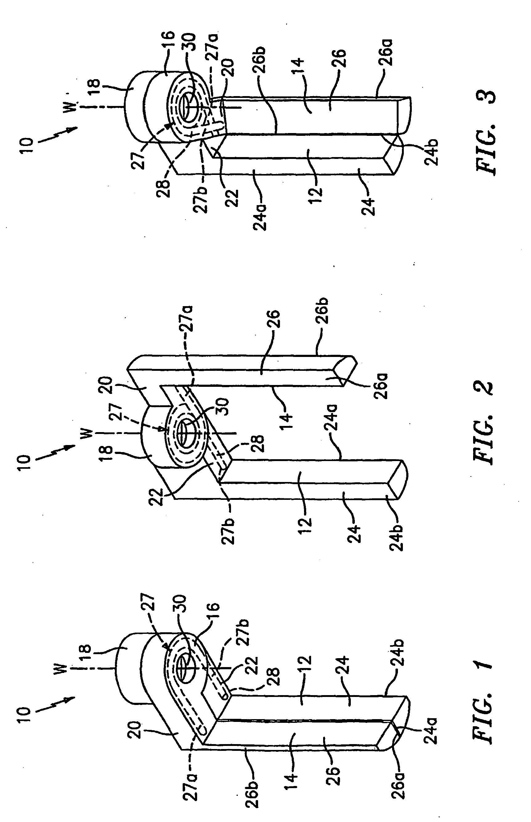
标题
Ligation clip applier
授权日
2009-11-11
公开(公告)号
EP1499246B1
申请日
2003-04-29
公开(公告)日
2009-11-11
当前申请(专利权)人
TYCO HEALTHCARE GROUP LP
发明人
VIOLA, FRANK, J.
简单同族
AU2003225257A1 | AU2003225257A8 | DE60329996D1 | EP1499246A2 | EP1499246A4 | EP1499246B1 | EP1985243A1 | EP1985243B1 | ES2335582T3 | ES2369505T3 | US20040092961A1 | US20080065119A1 | US7316693 | US7695482 | WO2003092473A2 | WO2003092473A3
简单同族成员数量
16
简单同族被引用专利总数
146
诉讼案件数
0
法律状态/事件
授权
抱歉,您的浏览器不支持PDF预览,请点击链接下载PDF文件