专利数据库
统计分析
产业报告
专利数据监控
产业人才
行业动态
产业政策法规
维权援助
个人中心
详情
文本
图像
标题
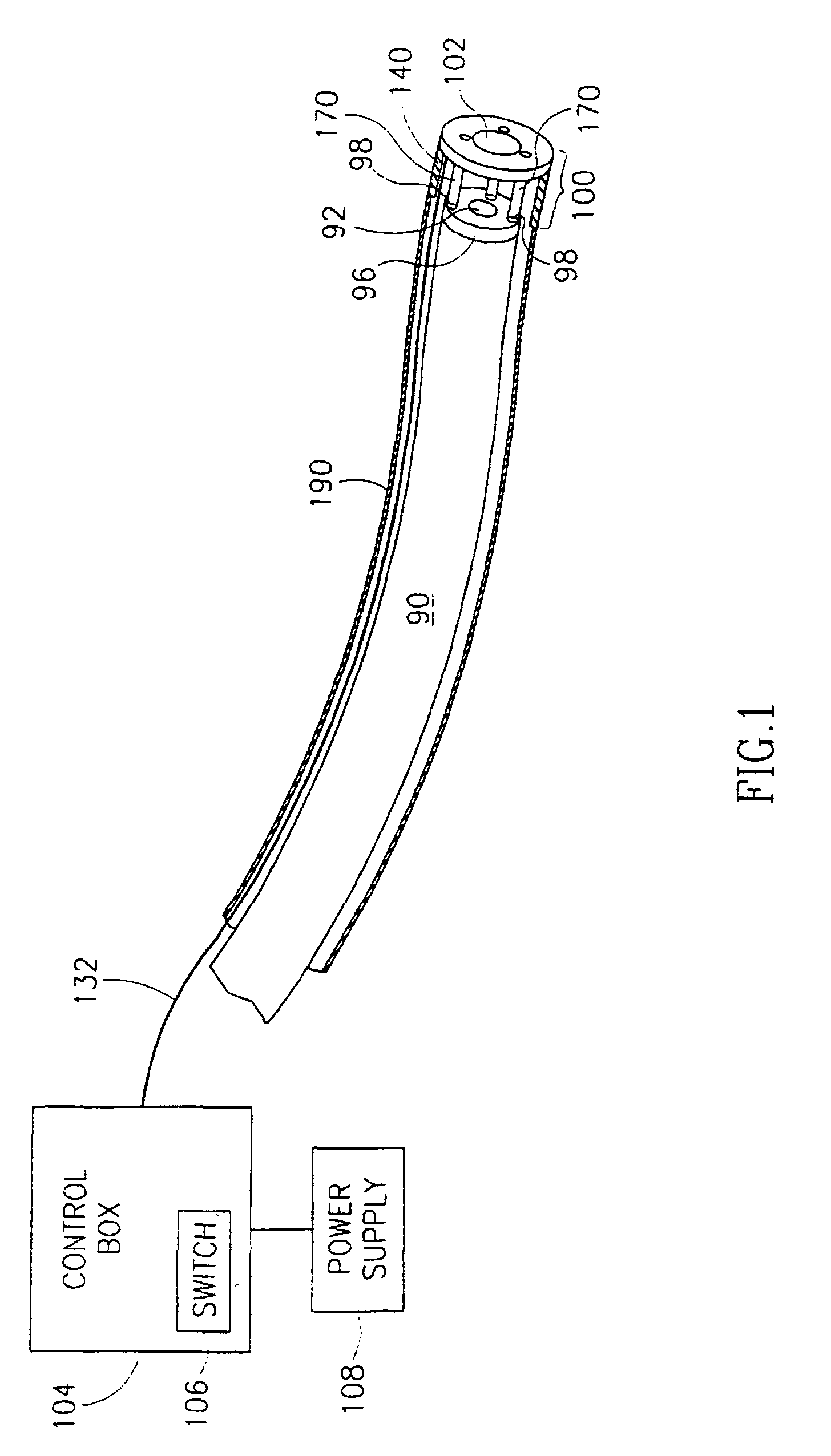
Lens protection for medical purposes
授权日
2004-01-02
公开(公告)号
EP1259858B1
申请日
2001-02-20
公开(公告)日
2004-01-02
当前申请(专利权)人
SPINTEC MED, LTD.
发明人
SHERWIN, DANIEL
简单同族
AT257250T | AT303610T | AU2001212984A1 | AU2001235926A1 | DE60022402D1 | DE60022402T2 | EP1259856A1 | EP1259856B1 | EP1259858A1 | EP1259858B1 | IL134630A | IL134630D0 | US20030137752A1 | US20040184799A1 | US6731867 | US6996338 | US7104657 | WO2001061406A1 | WO2001061408A1
简单同族成员数量
19
简单同族被引用专利总数
59
诉讼案件数
0
法律状态/事件
权利终止
抱歉,您的浏览器不支持PDF预览,请点击链接下载PDF文件