专利数据库
统计分析
产业报告
专利数据监控
产业人才
行业动态
产业政策法规
维权援助
个人中心
详情
文本
图像
标题
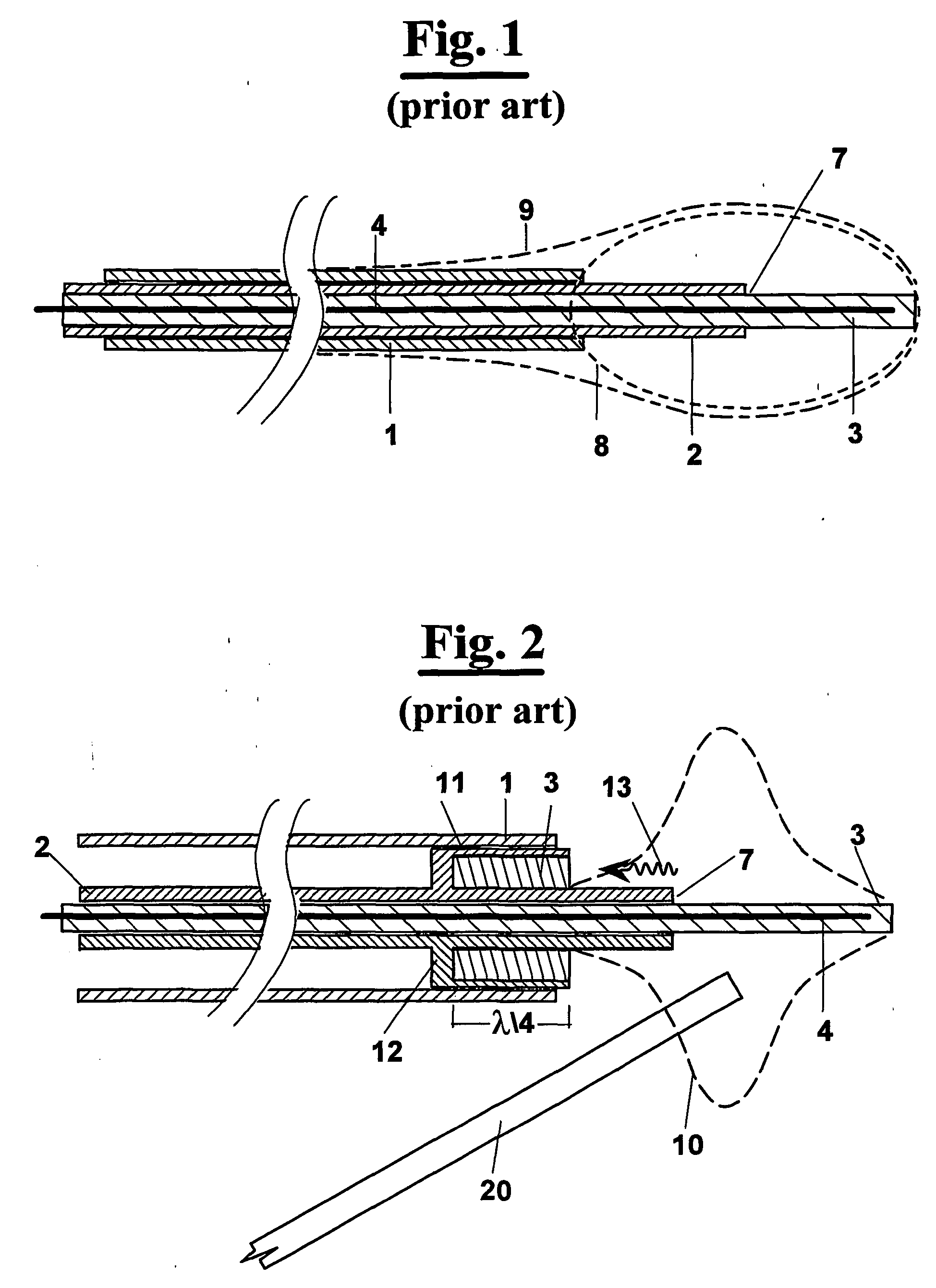
Interstitial microwave antenna with miniaturized choke for hyperthermia in medicine and surgery
授权日
2006-05-17
公开(公告)号
EP1356545B1
申请日
2002-01-31
公开(公告)日
2006-05-17
当前申请(专利权)人
CNR CONSIGLIO NAZIONALE DELLE RICERCHE
发明人
LONGO, IGINIO
简单同族
AT326777T | AU2002234814A1 | AU2002234814B2 | BRPI0206864A2 | BRPI0206864B1 | CA2437131A1 | CA2437131C | CN1489807A | DE60211479D1 | DE60211479T2 | DK1356545T3 | EP1356545A2 | EP1356545B1 | ES2266444T3 | HK1065651A | IT1327185B1 | ITPI2001000006A1 | JP2004518471A | JP4234432B2 | PL204739B1 | PL365059A1 | PT1356545E | US20040049254A1 | US7113832 | WO2002061880A2 | WO2002061880A3
简单同族成员数量
26
简单同族被引用专利总数
254
诉讼案件数
0
法律状态/事件
授权
抱歉,您的浏览器不支持PDF预览,请点击链接下载PDF文件