专利数据库
统计分析
产业报告
专利数据监控
产业人才
行业动态
产业政策法规
维权援助
个人中心
详情
文本
图像
标题
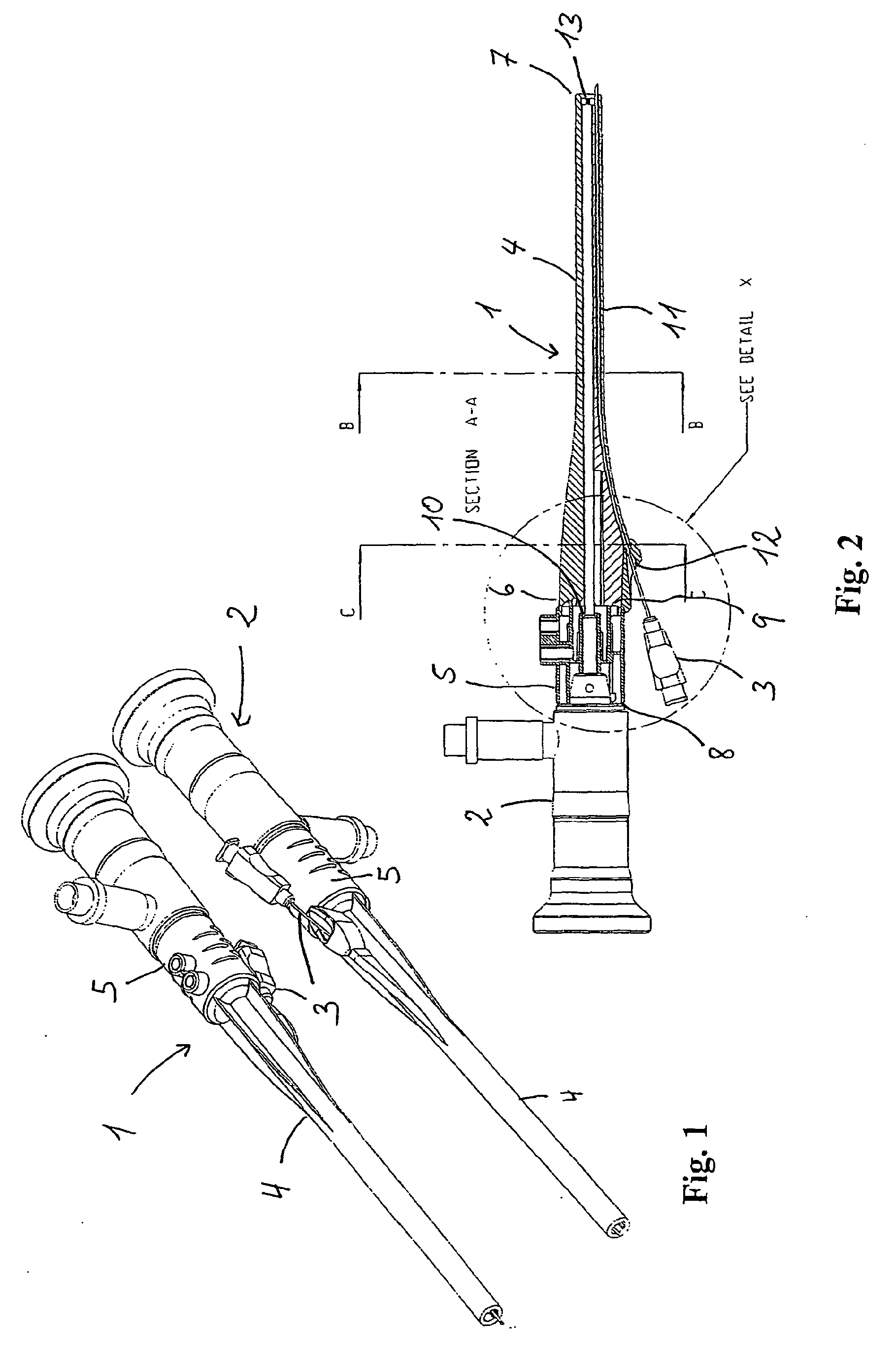
Endoscopic attachment device
授权日
2008-10-22
公开(公告)号
EP1646311B1
申请日
2004-06-18
公开(公告)日
2008-10-22
当前申请(专利权)人
CONTURA A/S
发明人
HERN, SOREN
简单同族
AR047301A1 | AT411767T | AU2004248887A1 | AU2004248887B2 | BRPI0411716A2 | CA2529952A1 | CA2529952C | CN100435717C | CN1809310A | CY1108709T1 | DE602004017313D1 | DK1646311T3 | EP1646311A1 | EP1646311B1 | EP2000078A1 | EP2000078B1 | ES2316991T3 | HK1089640A | HK1089640A1 | HRP20090033T3 | IL172594A | IL172594D0 | JP2007506463A | JP2007506463A5 | JP4616253B2 | KR100971812B1 | KR1020060054199A | NO20060291L | NZ544280A | NZ544280B | PL1646311T3 | PT1646311E | SI1646311T1 | WO2004112596A1 | ZA200600147B
简单同族成员数量
35
简单同族被引用专利总数
33
诉讼案件数
0
法律状态/事件
授权 | 权利转移
抱歉,您的浏览器不支持PDF预览,请点击链接下载PDF文件