专利数据库
统计分析
产业报告
专利数据监控
产业人才
行业动态
产业政策法规
维权援助
个人中心
详情
文本
图像
标题
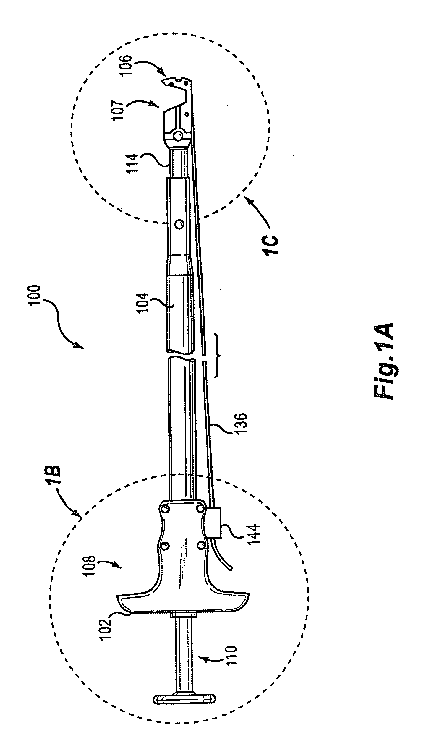
Delivering sutures
授权日
2012-02-01
公开(公告)号
EP2083706B1
申请日
2007-11-05
公开(公告)日
2012-02-01
当前申请(专利权)人
BOSTON SCIENTIFIC LIMITED
发明人
CHU, MICHAEL S. H. | BIALOBRZESKI, ROBERT W.
简单同族
AT543441T | CA2668146A1 | CA2668146C | EP2083706A1 | EP2083706B1 | US20080109015A1 | US20140236190A1 | US8709021 | US9931111 | WO2008058067A1
简单同族成员数量
10
简单同族被引用专利总数
72
诉讼案件数
0
法律状态/事件
授权
抱歉,您的浏览器不支持PDF预览,请点击链接下载PDF文件