专利数据库
统计分析
产业报告
专利数据监控
产业人才
行业动态
产业政策法规
维权援助
个人中心
详情
文本
图像
标题
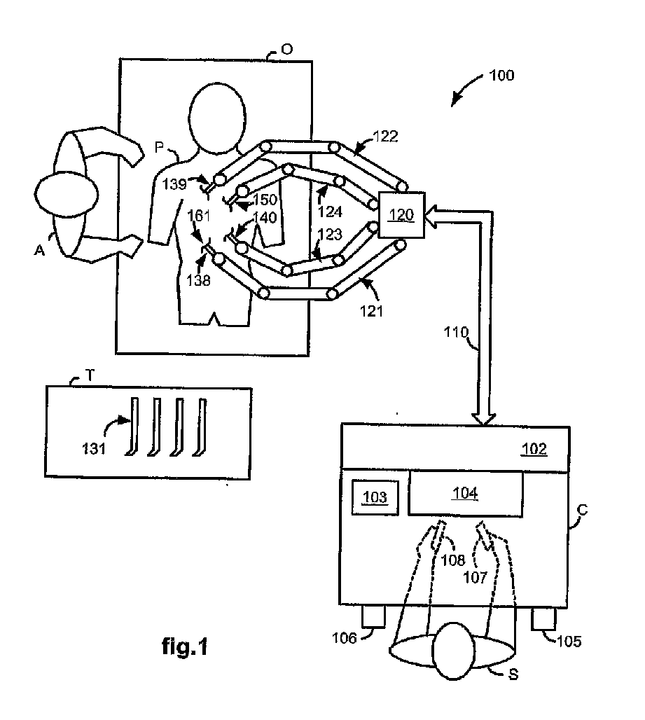
Laparoscopic ultrasound robotic surgical system
授权日
1900-01-01
公开(公告)号
EP2289453A3
申请日
2006-06-05
公开(公告)日
2014-03-19
当前申请(专利权)人
INTUITIVE SURGICAL OPERATIONS, INC.
发明人
HASSER, CHRISTOPHER | TAYLOR, RUSSELL | CHOTI, MICHAEL | LEVEN, JOSH
简单同族
AT540634T | CN101193603A | CN101193603B | EP1887961A1 | EP1887961B1 | EP2289452A2 | EP2289452A3 | EP2289453A2 | EP2289453A3 | EP2289453B1 | EP2289454A2 | EP2289454A3 | EP2289454B1 | JP2008541990A | JP2012050887A | JP2012050888A | JP2012055717A | JP2013252452A | JP2013252452A5 | JP2014138901A | JP2016041377A | JP4999012B2 | JP5455173B2 | JP6138227B2 | KR101258912B1 | KR1020080027224A | US10603127 | US10646293 | US20070021738A1 | US20170128041A1 | US20170128144A1 | US20170128145A1 | US20200163732A1 | WO2007030173A1
简单同族成员数量
34
简单同族被引用专利总数
401
诉讼案件数
0
法律状态/事件
授权
抱歉,您的浏览器不支持PDF预览,请点击链接下载PDF文件