专利数据库
统计分析
产业报告
专利数据监控
产业人才
行业动态
产业政策法规
维权援助
个人中心
详情
文本
图像
标题
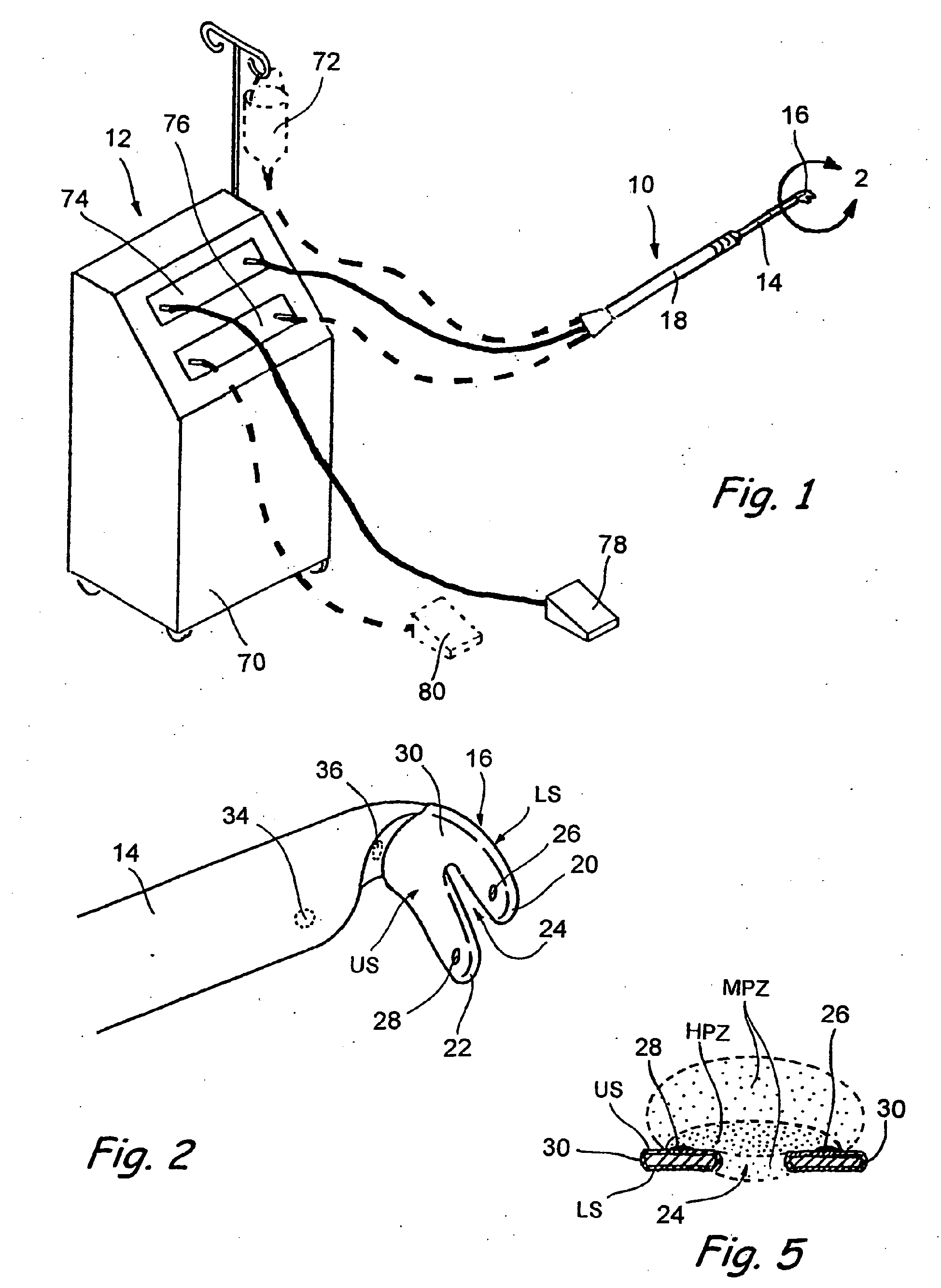
Electrosurgical device for selective cutting of tissue
授权日
2015-05-06
公开(公告)号
EP1633267B1
申请日
2004-06-10
公开(公告)日
2015-05-06
当前申请(专利权)人
NEOMEDIX CORPORATION
发明人
MITTELSTEIN, MICHAEL | SORENSEN, JOHN, T. | MIRHASHEMI, SOHEILA | GERG, JAMES, B.
简单同族
CA2528056A1 | CA2528056C | EP1633267A2 | EP1633267A4 | EP1633267B1 | ES2544478T3 | JP2007500582A | JP2007500582A5 | JP4704344B2 | MXPA05013311A | US20070010812A1 | US7842034 | WO2004110259A2 | WO2004110259A3
简单同族成员数量
14
简单同族被引用专利总数
50
诉讼案件数
0
法律状态/事件
授权
抱歉,您的浏览器不支持PDF预览,请点击链接下载PDF文件