专利数据库
统计分析
产业报告
专利数据监控
产业人才
行业动态
产业政策法规
维权援助
个人中心
详情
文本
图像
标题
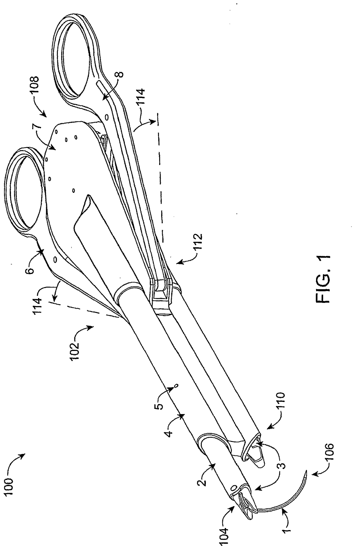
Suturing device
授权日
2018-11-07
公开(公告)号
EP1945106B1
申请日
2006-09-13
公开(公告)日
2018-11-07
当前申请(专利权)人
RHAPHIS MEDICAL, INC.
发明人
HAMILTON, HENRY, H. | BELMAN, YURI | ZATYURYUKIN, ALEXANDER, BORISOVICH | MOORE, PATRICIA, A.
简单同族
AU2006290868A1 | AU2006290868B2 | BRPI0615841A2 | CA2622405A1 | CA2622405C | CA2906901A1 | CA2906901C | CN101505666A | CN101505666B | CN102293672A | CN102293672B | EP1945106A2 | EP1945106A4 | EP1945106B1 | EP2441397A2 | EP2441397A3 | JP2009514562A | JP2009514562A5 | JP5390185B2 | US20070060930A1 | US20070060931A1 | US20090292300A1 | US20100268257A1 | US20110251627A1 | US20140222036A1 | US20150190132A1 | US7588583 | US7998149 | US8252007 | US8317805 | US8603113 | US9993244 | WO2007033314A2 | WO2007033314A3
简单同族成员数量
34
简单同族被引用专利总数
234
诉讼案件数
0
法律状态/事件
授权 | 权利转移
抱歉,您的浏览器不支持PDF预览,请点击链接下载PDF文件