专利数据库
统计分析
产业报告
专利数据监控
产业人才
行业动态
产业政策法规
维权援助
个人中心
详情
文本
图像
标题
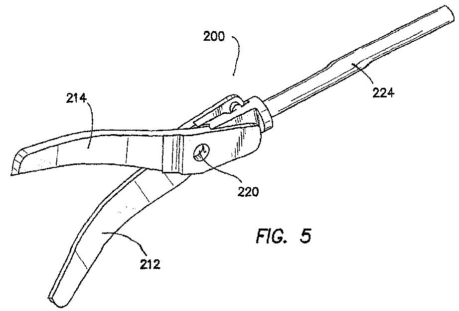
System and Method for Actuating a Laparoscopic Surgical Instrument
授权日
1900-01-01
公开(公告)号
EP2022417A1
申请日
2005-02-17
公开(公告)日
2009-02-11
当前申请(专利权)人
APPLIED MEDICAL RESOURCES CORPORATION
发明人
JOHNSON, GARY MR | ALHBERG, RUSSELL E | OKIHISA, DAVID | BAK-BOYCHUCK, GREGORY I
简单同族
DE602005012482D1 | DE602005020534D1 | EP1718224A1 | EP1718224B1 | EP2022417A1 | EP2022417B1 | JP2007525285A | US20050192598A1 | US20090318954A1 | US7578832 | US8114120 | WO2005092216A1
简单同族成员数量
12
简单同族被引用专利总数
201
诉讼案件数
0
法律状态/事件
授权
抱歉,您的浏览器不支持PDF预览,请点击链接下载PDF文件