专利数据库
统计分析
产业报告
专利数据监控
产业人才
行业动态
产业政策法规
维权援助
个人中心
详情
文本
图像
标题
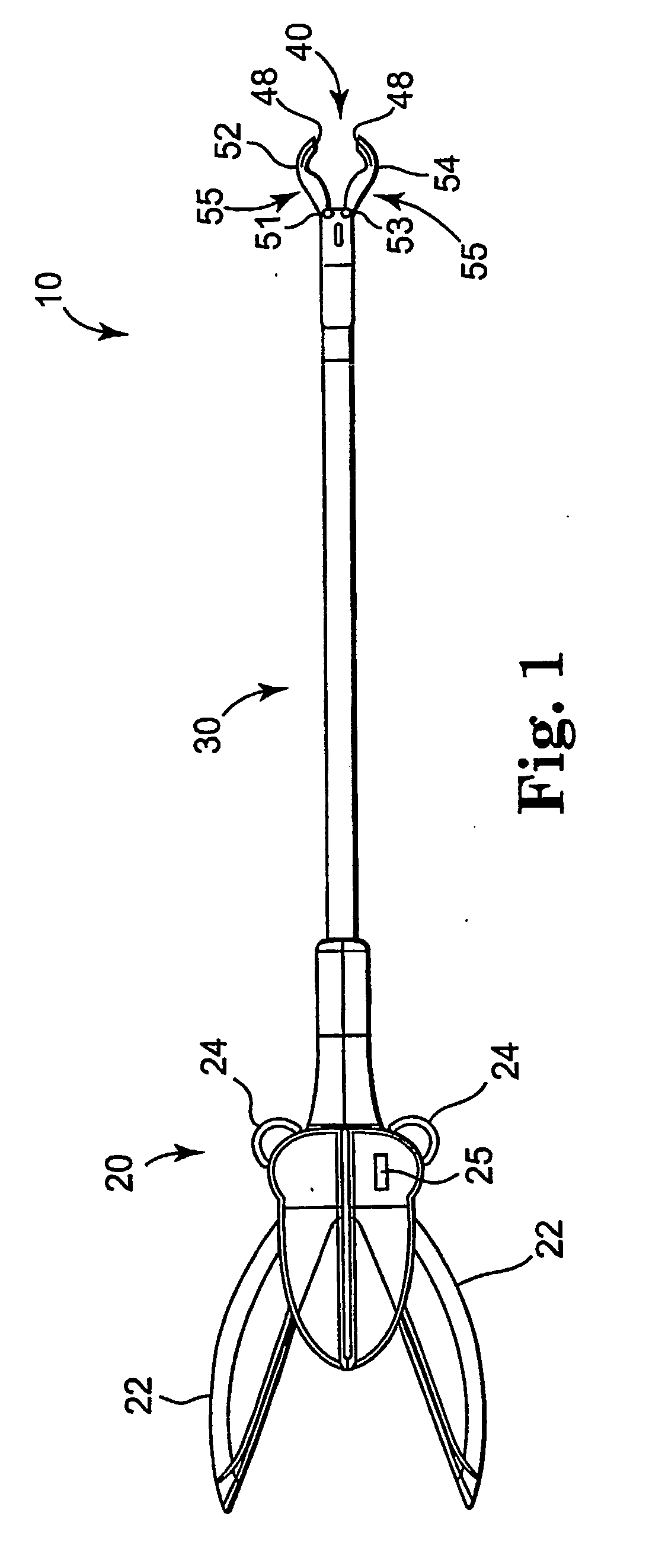
Tissue fastening and cutting tool,
授权日
2009-03-18
公开(公告)号
EP1706042B1
申请日
2005-01-21
公开(公告)日
2009-03-18
当前申请(专利权)人
AMS RESEARCH CORPORATION
发明人
MONTPETIT, KAREN, PILNEY
简单同族
AT425706T | AU2005209239A1 | AU2005209239B2 | BRPI0507008A2 | CA2551838A1 | CN100490750C | CN1909841A | DE602005013351D1 | EP1706042A1 | EP1706042B1 | EP2033582A2 | EP2033582A3 | HK1101339A | JP2007526800A | JP4826953B2 | US20050192633A1 | WO2005072626A1
简单同族成员数量
17
简单同族被引用专利总数
63
诉讼案件数
0
法律状态/事件
权利终止
抱歉,您的浏览器不支持PDF预览,请点击链接下载PDF文件