专利数据库
统计分析
产业报告
专利数据监控
产业人才
行业动态
产业政策法规
维权援助
个人中心
详情
文本
图像
标题
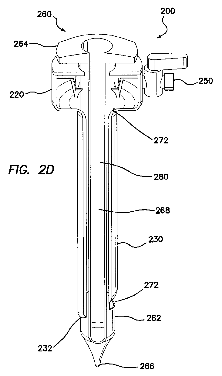
Insufflating access system
授权日
1900-01-01
公开(公告)号
EP2837344A1
申请日
2009-01-26
公开(公告)日
2015-02-18
当前申请(专利权)人
APPLIED MEDICAL RESOURCES CORPORATION
发明人
ALBRECHT, JEREMY J. | JOHNSON, GARY M. | BRUSTAD, JOHN R.
简单同族
AU2009206222A1 | AU2009206222B2 | AU2014210685A1 | AU2014210685B2 | CA2714889A1 | CA2714889C | EP2231233A1 | EP2231233A4 | EP2231233B1 | EP2837343A1 | EP2837343B1 | EP2837344A1 | EP2837344B1 | EP2837345A1 | EP2837345B1 | EP2851020A1 | EP2851020B1 | JP2011510709A | JP2014100585A | JP5432924B2 | JP5722419B2 | US20090192444A1 | US9265899 | WO2009094644A1
简单同族成员数量
24
简单同族被引用专利总数
83
诉讼案件数
0
法律状态/事件
授权
抱歉,您的浏览器不支持PDF预览,请点击链接下载PDF文件