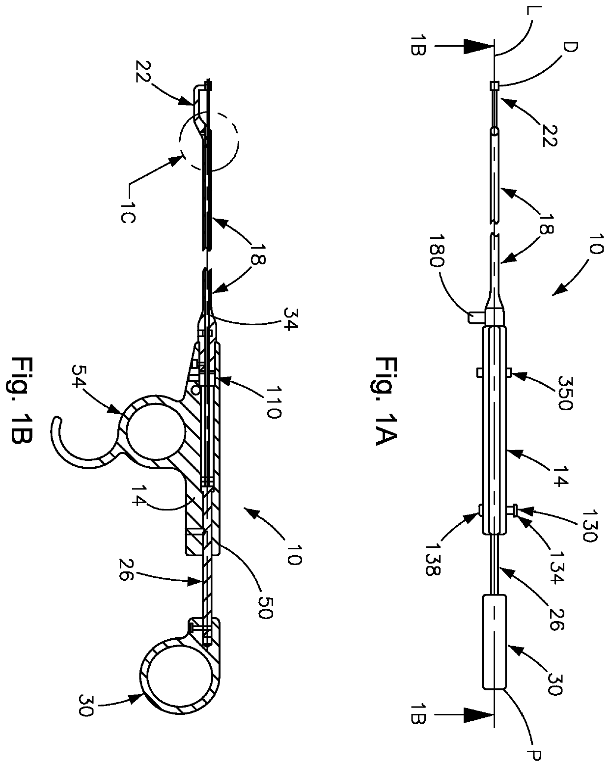
ADAMS, RAY | BANKS, DAVID, T. | BERTAGNOLI, RUDOLF | HELFER, JOEL | LARSEN, SCOTT | LAURENCE, LAWTON | LEHMAN, ADAM | MANOS, JAMIE | MATA, VINNY | MESSERLI, DOMINIQUE | OVERES, TOM | SINGHATAT, WAMIS | TALBOT, JAMES | UNDERHILL, KEN | VENNARD, DANIEL