专利数据库
统计分析
产业报告
专利数据监控
产业人才
行业动态
产业政策法规
维权援助
个人中心
详情
文本
图像
标题
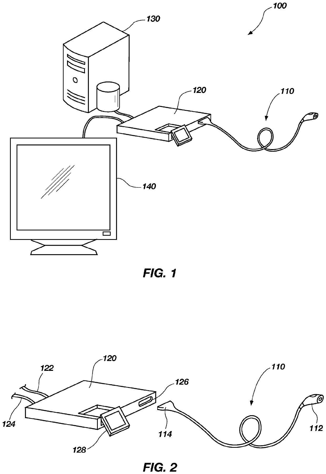
System and method for providing a single use imaging device for sterile environments
授权日
2020-06-17
公开(公告)号
EP2465008B1
申请日
2010-08-13
公开(公告)日
2020-06-17
当前申请(专利权)人
DEPUY SYNTHES PRODUCTS, INC.
发明人
TALBERT, JOSHUA, D. | HENLEY, JEREMIAH, D. | WICHERN, DONALD, M.
简单同族
AU2010282301A1 | AU2010282301B2 | BR112012003109A2 | CA2770723A1 | CA2990098A1 | CA2990106A1 | CN102576185A | CN102576185B | EP2465008A1 | EP2465008A4 | EP2465008B1 | IL218036A | IL218036D0 | JP2013502185A | JP2016005554A | JP6219341B2 | KR101969315B1 | KR1020120056834A | KR1020170109682A | US20110037876A1 | US8648932 | WO2011020068A1
简单同族成员数量
22
简单同族被引用专利总数
56
诉讼案件数
0
法律状态/事件
授权 | 权利转移
抱歉,您的浏览器不支持PDF预览,请点击链接下载PDF文件