专利数据库
统计分析
产业报告
专利数据监控
产业人才
行业动态
产业政策法规
维权援助
个人中心
详情
文本
图像
标题
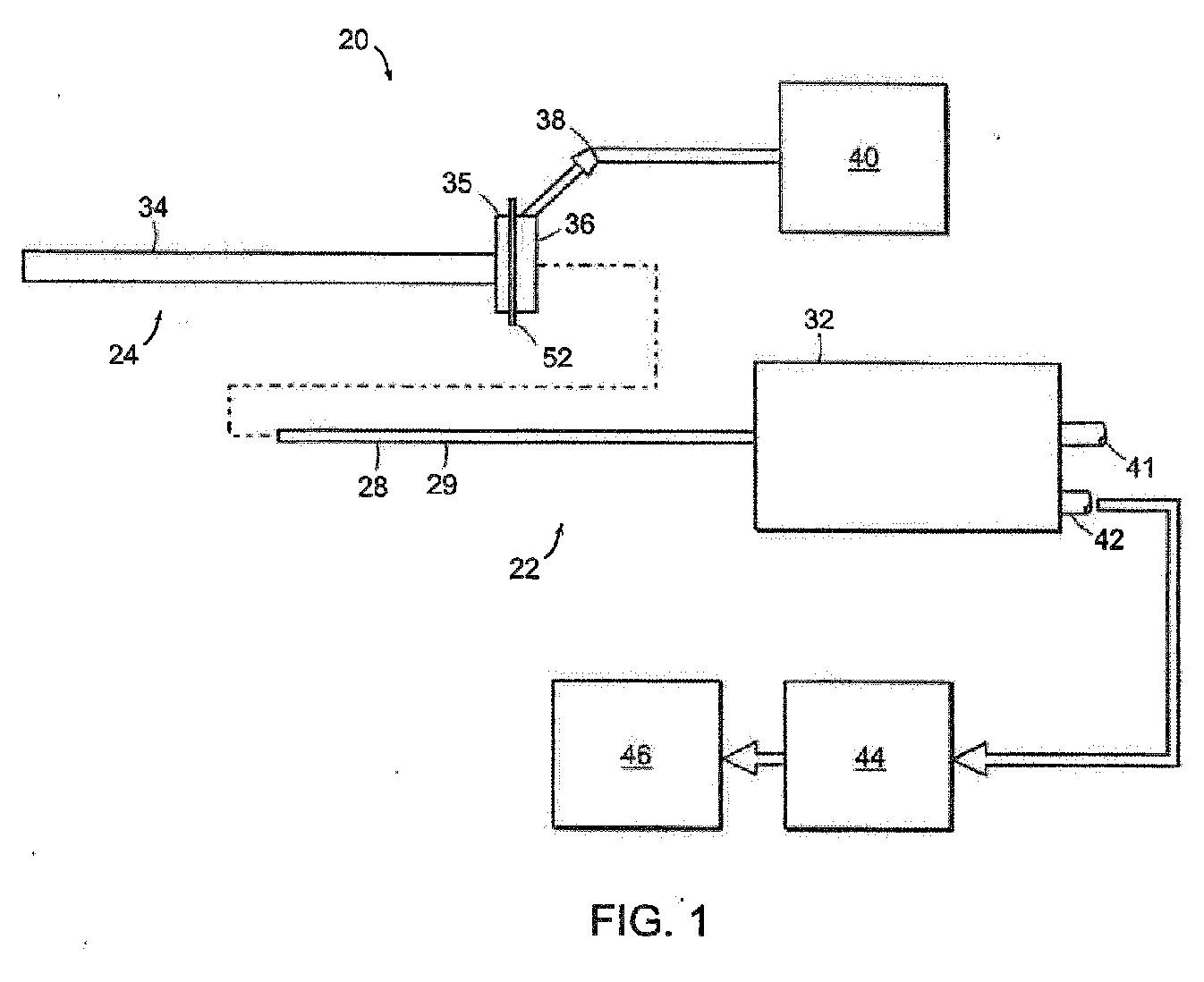
Miniature endoscope with imaging fiber system
授权日
1900-01-01
公开(公告)号
EP2676598A3
申请日
2002-10-18
公开(公告)日
2014-08-13
当前申请(专利权)人
VISIONSCOPE TECHNOLOGIES LLC
发明人
REMIJAN, PAUL | MCDONALD, JAMES E
简单同族
AT450188T | CA2464091A1 | CA2464091C | CA2748436A1 | CA2748436C | DE60234647D1 | EP1478264A2 | EP1478264B1 | EP2103248A2 | EP2103248A3 | EP2103248B1 | EP2676598A2 | EP2676598A3 | ES2336774T3 | JP2005506865A | JP2005506865A5 | JP2011104383A | JP4831933B2 | US20030083552A1 | US20060015014A1 | US20120071721A1 | US20180220878A1 | US6863651 | US7942814 | WO2003034905A2 | WO2003034905A3
简单同族成员数量
26
简单同族被引用专利总数
237
诉讼案件数
0
法律状态/事件
撤回
抱歉,您的浏览器不支持PDF预览,请点击链接下载PDF文件