专利数据库
统计分析
产业报告
专利数据监控
产业人才
行业动态
产业政策法规
维权援助
个人中心
详情
文本
图像
标题
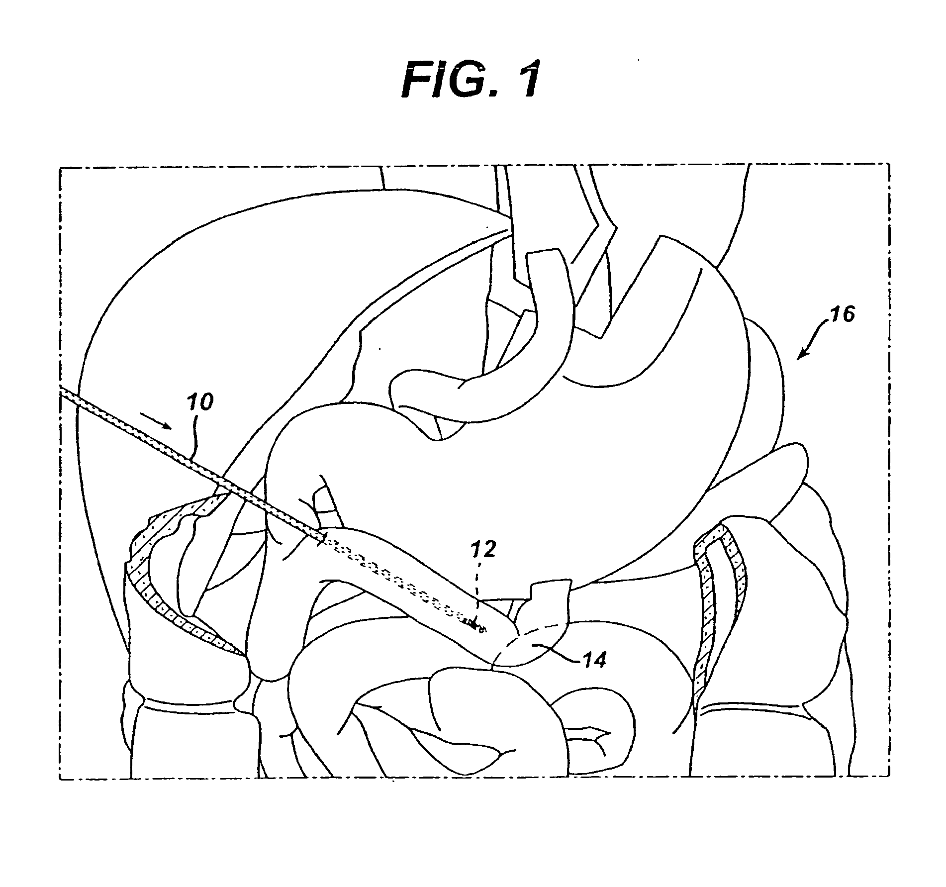
Anastomosis wire ring device
授权日
2009-09-16
公开(公告)号
EP1520528B1
申请日
2004-09-30
公开(公告)日
2009-09-16
当前申请(专利权)人
ETHICON ENDO-SURGERY, INC.
发明人
TANAKA, DON A. | ORTIZ, MARK S. | POWELL, DARREL
简单同族
AT442813T | AU2004216633A1 | BRPI0405024A | BRPI0405024A2 | BRPI0405024B1 | CA2483248A1 | CA2483248C | CN1636528A | DE602004023163D1 | EP1520528A2 | EP1520528A3 | EP1520528B1 | JP2005103300A | JP4658555B2 | MXPA04009609A | US20050070934A1 | US7608086
简单同族成员数量
17
简单同族被引用专利总数
209
诉讼案件数
0
法律状态/事件
授权
抱歉,您的浏览器不支持PDF预览,请点击链接下载PDF文件