专利数据库
统计分析
产业报告
专利数据监控
产业人才
行业动态
产业政策法规
维权援助
个人中心
详情
文本
图像
标题
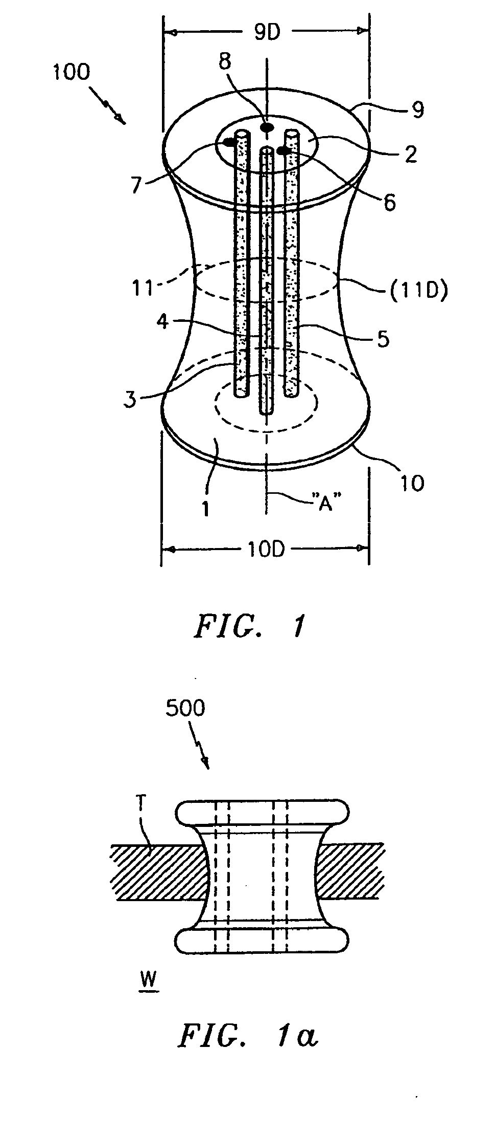
Single port device including selectively closeable openings
授权日
1900-01-01
公开(公告)号
EP2305151A1
申请日
2010-10-01
公开(公告)日
2011-04-06
当前申请(专利权)人
COVIDIEN LP
发明人
STOPEK, JOSHUA
简单同族
AU2010226925A1 | AU2010226925B2 | CA2716148A1 | EP2305151A1 | EP2305151B1 | EP3108832A1 | ES2586484T3 | JP2011078762A | JP5904705B2 | US20110082346A1 | US20140171745A1 | US20140323810A1 | US20150045625A1 | US20150190169A1 | US8684918 | US8795164 | US8894575 | US8986203 | US9179934
简单同族成员数量
19
简单同族被引用专利总数
51
诉讼案件数
0
法律状态/事件
权利终止 | 权利转移
抱歉,您的浏览器不支持PDF预览,请点击链接下载PDF文件