专利数据库
统计分析
产业报告
专利数据监控
产业人才
行业动态
产业政策法规
维权援助
个人中心
详情
文本
图像
标题
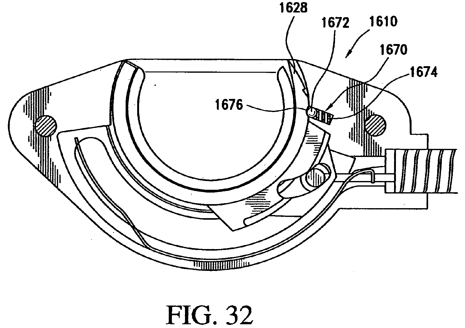
Surgical suturing apparatus with needle position indicator
授权日
1900-01-01
公开(公告)号
EP1839586A2
申请日
2007-03-30
公开(公告)日
2007-10-03
当前申请(专利权)人
ETHICON ENDO-SURGERY, INC.
发明人
STOKES, MICHAEL J. | SHELTON, FREDERICK E. IV | ORTIZ, MARK S. | PLESCIA, DAVID N.
简单同族
AT442812T | AU2007201313A1 | AU2007201313B2 | AU2007201315A1 | AU2007201315B2 | AU2007201315B8 | AU2007201316A1 | AU2007201316B2 | AU2007201318A1 | AU2007201318B2 | AU2007201320A1 | AU2007201320B2 | AU2007201322A1 | AU2007201322B2 | BRPI0703909A | BRPI0703909A2 | BRPI0704170A2 | BRPI0705054A | BRPI0705054A2 | BRPI0705111A | BRPI0705111A2 | BRPI0705789A | BRPI0705789A2 | BRPI0706320A2 | CA2582916A1 | CA2582921A1 | CA2582964A1 | CA2583071A1 | CA2583135A1 | CA2583324A1 | CN101044997A | CN101044997B | CN101044999A | CN101045000A | CN101045000B | CN101045001A | CN101045001B | CN101045002A | CN101045002B | CN101045004A | CN101045004B | DE602007002429D1 | EP1839585A2 | EP1839585A3 | EP1839585B1 | EP1839586A2 | EP1839586A3 | EP1839586B1 | EP1839587A2 | EP1839587A3 | EP1839588A1 | EP1839588B1 | EP1839589A2 | EP1839589A3 | EP1839589B1 | EP1839590A1 | HK1107923A | HK1108816A | HK1109040A | HK1109041A | HK1109042A | HK1109044A | JP2007275574A | JP2007275576A | JP2007275577A | JP2007275579A | JP2007275579A5 | JP2007275580A | JP2007275581A | JP4949108B2 | JP5183951B2 | JP5183952B2 | JP5214164B2 | MX2007003971A | MX2007003975A | MX2007003977A | MX2007003978A | MX2007003981A | MX2007003982A | MX281732B | MX286436B | MX288268B | US20060282090A1 | US20060282092A1 | US20060282095A1 | US20060282096A1 | US20060282097A1 | US20060282098A1 | US7828812 | US7833236 | US7887554 | US7976553 | US8500756
简单同族成员数量
93
简单同族被引用专利总数
248
诉讼案件数
0
法律状态/事件
权利终止
抱歉,您的浏览器不支持PDF预览,请点击链接下载PDF文件